E
EPC Data

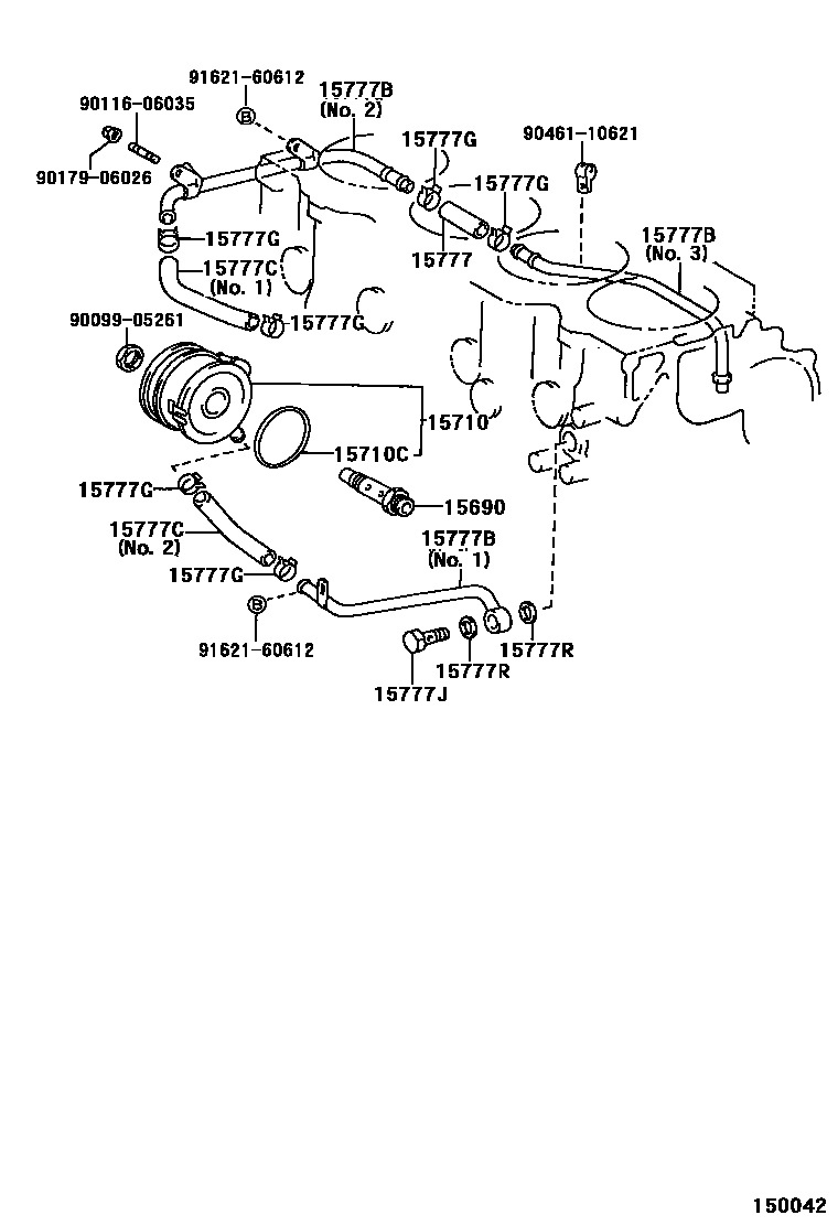
ENGINE OIL COOLER

Parts diagram
15690VALVE ASSY, OIL COOLER RELIEF
main15695-64010i199709
main15695-74010i199609
15710COOLER ASSY, OIL
main15710-64150i199709
main15710-74050i199609
15710CGASKET(FOR OIL COOLER)
main90301-67004i199709
15777HOSE, OIL COOLER
main90445-21006i199709
15777BPIPE, OIL COOLER
main15767-64090i199709
NO.2
main15768-64120i199709
NO.1
main15769-64011i199709
NO.3
15777CHOSE, OIL COOLER
main15777-64060i199709
NO.1
main15778-64040i199709
NO.2
15777GCLAMP OR CRIP, HOSE
main90467-20005×6i199709
15777JBOLT, UNION(FOR OIL COOLER PIPE)
main90401-20004i199709
15777RGASKET(FOR OIL COOLER PIPE UNION BOLT)
main90430-20014×2i199709
9009905261
9011606035
9017906026
9046110621
9162160612

14 parts on this diagram · 2 diagrams in section

ENGINE OIL COOLER — Toyota Parts Diagram with OEM Numbers & Prices | EPC Data