E
EPC Data

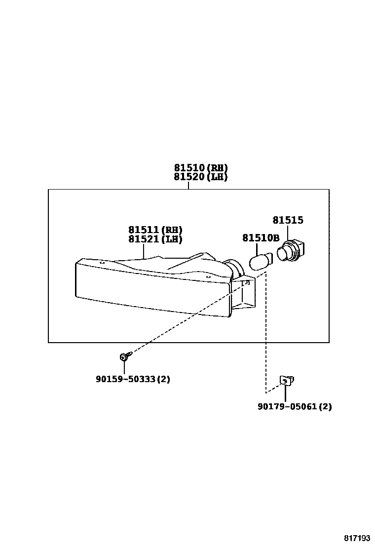
FRONT TURN SIGNAL LAMP

Parts diagram
81510LAMP ASSY, FRONT TURN SIGNAL, RH
main81510-50050i199410-199707
main81510-50060i199707
81510BBULB (FOR FRONT TURN SIGNAL LAMP)
main90981-13050×2i199707
12V 21W
main99132-11210×2i199410-199707
12V 21W
81511LENS, FRONT TURN SIGNAL LAMP, RH
main81511-50050i199410-199707
main81511-50060i199707
81515WIRE SUB-ASSY, FRONT TURN SIGNAL LAMP BODY
main90075-99078×2i199410-199707
main90075-99080×2i199707-199709
main90075-99128×2i199709
81520LAMP ASSY, FRONT TURN SIGNAL, LH
main81520-50050i199410-199707
main81520-50060i199707
81521LENS, FRONT TURN SIGNAL LAMP, LH
main81521-50050i199410-199707
main81521-50060i199707
9015950333
9017905061

8 parts on this diagram · 2 diagrams in section

FRONT TURN SIGNAL LAMP — Toyota Parts Diagram with OEM Numbers & Prices | EPC Data