E
EPC Data

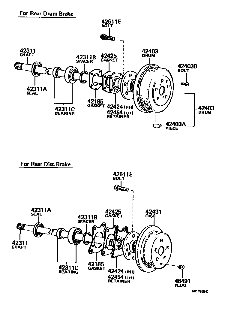
REAR AXLE SHAFT & HUB

Parts diagram
42185GASKET, REAR AXLE HOUSING END
main42185-30061×2i197410-197908
main42185-30090×2i197511-197908
FOR REAR DISC BRAKE
42311SHAFT, REAR AXLE
main42311-30050×2i197410-197908
main42311-30060×2i197511-197908
FOR REAR DISC BRAKE
main42311-31010×2i197501-197908
42311ASEAL, OIL(FOR REAR AXLE SHAFT)
main90311-52059×2i197410-197908
main90311-58118×2i197501-197908
42311BSPACER(FOR REAR AXLE SHAFT BEARING)
main90560-35153×2i197410-197908
main90560-40338×2i197501-197908
42311CBEARING(FOR REAR AXLE SHAFT)
main04421-30030×2i197410-197908
main04421-30040×2i197511-197908
FOR REAR DISC BRAKE
main04421-30050×2i197501-197704
main04421-30051×2i197704-197908
42403DRUM SUB-ASSY, REAR BRAKE
main42431-30070×2i197410-197908
42403APIECE, BALANCE (FOR REAR BRAKE DRUM)
main90937-01100i197502-197908
40.5G,40.5G.
main90937-01117i197410-197908
10G,10G.
main90937-01118i197410-197908
20G,20G.
main90937-01119i197410-197908
30G,30G.
main90937-01120i197410-197502
40G,40G.
main90937-01121i197410-197502
50G,50G.
main90937-01122i197410-197502
60G,60G.
main90937-01146i197502-197908
25G,50G.
main90937-01178i197502-197908
56G,56G.
42403BBOLT, SET (FOR REAR BRAKE DRUM SETTING)
main90113-10007×2i197410-197908
42424RETAINER, REAR AXLE BEARING, OUTER, RH
main42405-30010i197511-197908
FOR REAR DISC BRAKE
main42424-30040i197410-197908
main42424-31010i197501-197908
42425GASKET, REAR AXLE BEARING RETAINER
main42425-30031×2i197410-197908
main42425-30040×2i197511-197908
FOR REAR DISC BRAKE
42431DISC, REAR
main42431-30080×2i197511-197808
FOR REAR DISC BRAKE
main42431-30081×2i197808-197908
FOR REAR DISC BRAKE
42454RETAINER, REAR AXLE BEARING, OUTER, LH
main42406-30010i197511-197908
FOR REAR DISC BRAKE
main42424-30040i197410-197908
main42424-31010i197501-197908
42611EBOLT, HUB (FOR REAR AXLE)
main90942-02021×10i197410-197703
12-1.5PX38-24
main90942-02035×10i197703-197908
12-1.5PX36-23.5
46491PLUG, SHOE ADJUSTING HOLE(FOR PARKING BRAKE)
main47491-22020×2i197808-197908
FOR REAR DISC BRAKE
main47491-30040×2i197511-197808
FOR REAR DISC BRAKE

14 parts on this diagram · 1 diagram in section

REAR AXLE SHAFT & HUB — Toyota Parts Diagram with OEM Numbers & Prices | EPC Data