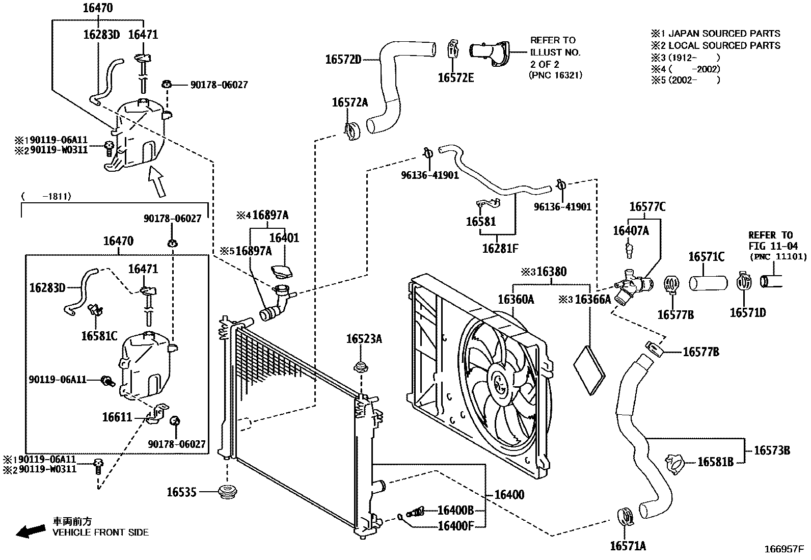
RADIATOR & WATER OUTLET

1104
16281HOSE, WATER BY-PASS, NO.4
16281FHOSE, WATER BY-PASS, NO.5
16283HOSE, WATER BY-PASS, NO.6
AZERBAIJAN,ARMENIA,GEORGIA SPEC
UKRAINE SPEC
16283DHOSE, WATER BY-PASS, NO.6
NO.2
NO.2
NO.1
16360AFAN ASSY, W/MOTOR
EXHAUST EMISSION CONTROL-EURO6,WITH(ON BOARD DIAGNOSIS)
EXHAUST EMISSION CONTROL-USA ULEV50
16366AINSULATOR, COOLING FAN MOTOR
EXHAUST EMISSION CONTROL-BRAZIL BR2 WITH(ON BOARD DIAGNOSIS)
EXHAUST EMISSION CONTROL-EURO6,WITH(ON BOARD DIAGNOSIS)
EXHAUST EMISSION CONTROL-EURO5,WITH(ON BOARD DIAGNOSIS)
16380BRACKET ASSY, FAN
EXHAUST EMISSION CONTROL-EURO6,WITH(ON BOARD DIAGNOSIS)
EXHAUST EMISSION CONTROL-EURO5,WITH(ON BOARD DIAGNOSIS)
EXHAUST EMISSION CONTROL-BRAZIL BR2 WITH(ON BOARD DIAGNOSIS)
16400RADIATOR ASSY
EXHAUST EMISSION CONTROL-EURO5,WITH(ON BOARD DIAGNOSIS)
EXHAUST EMISSION CONTROL-EURO6,WITH(ON BOARD DIAGNOSIS)
EXHAUST EMISSION CONTROL-BRAZIL BR2 WITH(ON BOARD DIAGNOSIS)
EXHAUST EMISSION CONTROL-USA ULEV50
sub16400-25141
EXHAUST EMISSION CONTROL-USA ULEV50
EXHAUST EMISSION CONTROL-EURO6,WITH(ON BOARD DIAGNOSIS)
16400BPLUG, RADIATOR DRAIN COCK
16400FPACKING(FOR RADIATOR DRAIN COCK)
16401CAP SUB-ASSY, RADIATOR
16407ACOCK SUB-ASSY, RADIATOR DRAIN
16471CAP SUB-ASSY, RESERVE TANK
16523ACUSHION, RADIATOR SUPPORT
16535SUPPORT, RADIATOR, LOWER
16571ACLAMP OR CLIP, HOSE(FOR RADIATOR INLET)
16571CHOSE, RADIATOR, NO.1
16571DCLIP, RADIATOR HOSE, NO.1
16572ACLAMP OR CLIP, HOSE(FOR RADIATOR OUTLET NO.1)
16572ECLIP, RADIATOR HOSE, NO.2
NO.1:REFER ILLUST.
NO.2:REFER ILLUST.
16573BHOSE, RADIATOR, NO.3
16577BCLAMP OR CLIP, HOSE(FOR RADIATOR PIPE)
16577CPIPE, RADIATOR
16581CLAMP, HOSE(FOR WATER HOSE)
16581BCLAMP, HOSE(FOR RADIATOR HOSE)
NO.1:REFER ILLUST.
NO.2:REFER ILLUST.
NO.2:REFER ILLUST.
16581CCLAMP, HOSE(FOR RADIATOR HOSE NO.2)
16611BRACKET, RADIATOR RESERVE TANK
16897ANECK, FILLER
9011906A11
main90119-06A11
90119W0311
main90119-W0311
9017806027
main90178-06027
9613641901
main96136-41901
35 parts on this diagram · 15 diagrams in section