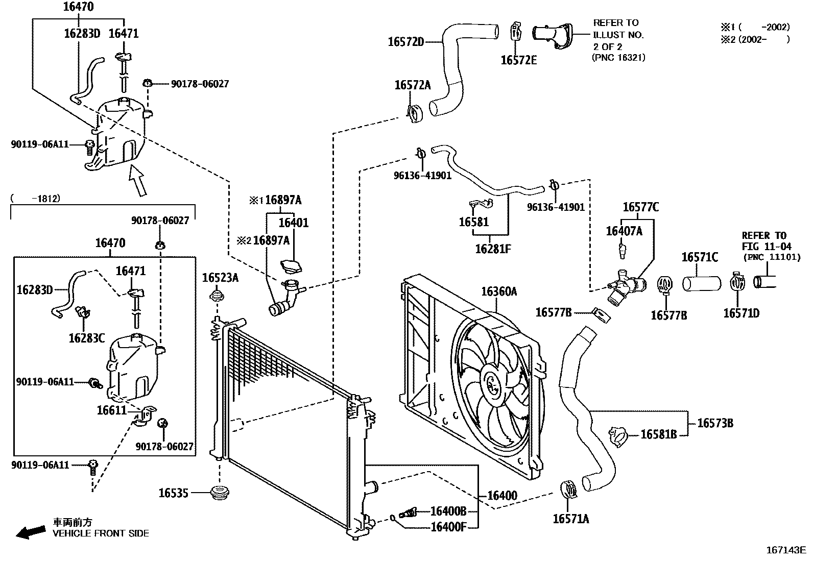
16281HOSE, WATER BY-PASS, NO.4
main16281-25021iA25#..AXZA10,AXZH10..ARL,EUR,GCC,GEN,IND201806-202110 16281FHOSE, WATER BY-PASS, NO.5
16283HOSE, WATER BY-PASS, NO.6
main16283-25010iA25AFKS..AXZA10; A25AFKS..AXZA10..EUR202108 PERU SPEC; UKRAINE SPEC
main16283-25020iA25AFXS,A25BFXS..AXZH10; A25AFXS..AXZH10..GCC; A25AFXS..AXZH10..LHD..EUR202108 ARGENTINA SPEC; BRAZIL SPEC; CHILE SPEC; EGYPT SPEC; MOROCCO SPEC; PERU SPEC; VIETNAM SPEC
16283CCLAMP OR CLIP(FOR WATER BY-PASS HOSE)
main16581-25050iA25#,6ARFSE..ASZ10,AXZA10,AXZH10201806-201812 16283DHOSE, WATER BY-PASS, NO.6
main16283-25031i2GRFKS..GSZ10; A25#,6ARFSE..ASZ10,AXZA10,AXZH10201806-201812 NO.2
main16283-25032i2GRFKS..GSZ10; A25#..AXZA10,AXZH10; M20AFKS..MXZA10202108 NO.2
16360AFAN ASSY, W/MOTOR
main16360-25010iA25AFKS..AXZA10..ARL,CHI,EUR,GEN; M20AFKS..MXZA10202108 main16360-31500i2GRFKS..GSZ10..EUR; A25AFKS..AXZA10..GCC202108 main16360-31510i2GRFKS..GSZ10..GCC; A25AFXS,A25BFXS..AXZH10202108 16400RADIATOR ASSY
main16400-25130supersedes 16400-25190i2GRFKS..GSZ10..EUR; A25AFKS,6ARFSE..ASZ10,AXZA10201806-201905 main16400-25141iA25AFXS,A25BFXS..AXZH10..ARL,CHI,EUR,GEN,IND201807-202110 main16400-25190iA25AFKS..AXZA10..ARL,CHI,GCC,GEN201906-202011 16400BPLUG, RADIATOR DRAIN COCK
main16417-21280i2GRFKS..GSZ10; A25AFKS..AXZA10; A25AFXS,A25BFXS..AXZH10; M20AFKS..MXZA10202108 16400FPACKING(FOR RADIATOR DRAIN COCK)
main16492-21050i2GRFKS..GSZ10; A25AFKS..AXZA10; A25AFXS,A25BFXS..AXZH10; M20AFKS..MXZA10202108 16401CAP SUB-ASSY, RADIATOR
main16401-36030iA25#..AXZA10,AXZH10; M20AFKS..MXZA10202108 16407ACOCK SUB-ASSY, RADIATOR DRAIN
16470TANK ASSY, RADIATOR RESERVE
main16470-25041i2GRFKS..GSZ10; A25#,6ARFSE..ASZ10,AXZA10,AXZH10201806-201811 main16470-25042i2GRFKS..GSZ10; A25#..AXZA10,AXZH10; M20AFKS..MXZA10202108 16471CAP SUB-ASSY, RESERVE TANK
main16405-25010i2GRFKS..GSZ10; A25#..AXZA10,AXZH10; M20AFKS..MXZA10202108 16523ACUSHION, RADIATOR SUPPORT
main16523-25010×2i2GRFKS..GSZ10; M20AFKS..MXZA10202002-202108 main16523-38010×2i2GRFKS..GSZ10; A25#,6ARFSE..ASZ10,AXZA10,AXZH10201806-202002 16535SUPPORT, RADIATOR, LOWER
main16535-20010×2i2GRFKS..GSZ10; A25AFXS,A25BFXS..AXZH10202108 main16535-20030×2iA25AFKS..AXZA10; M20AFKS..MXZA10202108 16571ACLAMP OR CLIP, HOSE(FOR RADIATOR INLET)
main90466-39002iA25#..AXZA10,AXZH10; M20AFKS..MXZA10202108 16571CHOSE, RADIATOR, NO.1
main16571-25031supersedes 16571-25040iA25AFXS,A25BFXS..AXZH10..ARL,EUR,GCC,GEN,IND201807-202110 main16571-25040supersedes 16571-25031iA25BFXS..AXZH10..CHI202108 16571DCLIP, RADIATOR HOSE, NO.1
main90466-43002i2GRFKS..GSZ10; A25#..AXZA10,AXZH10; M20AFKS..MXZA10202108 16572ACLAMP OR CLIP, HOSE(FOR RADIATOR OUTLET NO.1)
main90466-39002iA25#..AXZA10,AXZH10; M20AFKS..MXZA10202108 16572DHOSE, RADIATOR, NO.2
16572ECLIP, RADIATOR HOSE, NO.2
main90466-43002i2GRFKS..GSZ10; A25#..AXZA10,AXZH10; M20AFKS..MXZA10202108 NO.2:REFER ILLUST.
16573BHOSE, RADIATOR, NO.3
16577BCLAMP OR CLIP, HOSE(FOR RADIATOR PIPE)
16581CLAMP, HOSE(FOR WATER HOSE)
16581BCLAMP, HOSE(FOR RADIATOR HOSE)
main16581-25010supersedes 16581-25110i2GRFKS..GSZ10; A25#..AXZA10,AXZH10; M20AFKS..MXZA10202108 NO.1:REFER ILLUST.; NO.3
main16581-25110iA25AFXS,A25BFXS..AXZH10..ARL,EUR,GCC,GEN,IND201807-202110 NO.2:REFER ILLUST.
16611BRACKET, RADIATOR RESERVE TANK
main16611-25010i2GRFKS..GSZ10; A25#,6ARFSE..ASZ10,AXZA10,AXZH10201806-201812 16897ANECK, FILLER
main16897-25011iA25AFKS,6ARFSE..ASZ10,AXZA10; M20AFKS..MXZA10202002-202108