E
EPC Data

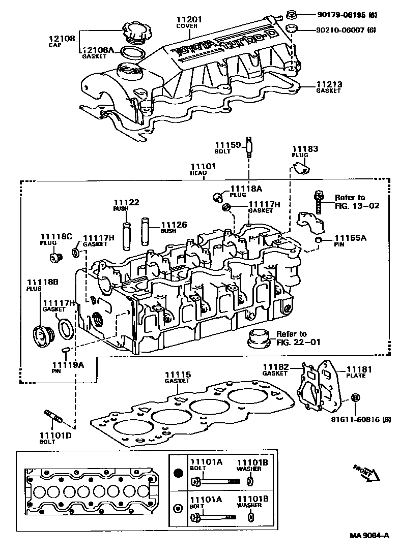
CYLINDER HEAD

Parts diagram
11101HEAD SUB-ASSY, CYLINDER
main11101-64130i198808-198901
main11101-64131i198901-199006
main11101-64132i199006-199106
main11101-69055i198808-199106
main11101-74030i198808-199106
11101ABOLT(FOR CYLINDER HEAD SET)
main90105-11018i198808-199002
*11-1.25PX123-51.5
main90105-11019i198808-199002
*11-1.25PX145-51.5
main90109-10132i198907-199106
main90110-10006i198808-198907
main90910-02077i198808-199106
main90910-02097i198808-199106
*11-1.25PX130-50
main90910-02099i198808-199106
*11-1.25PX152-50
11101BWASHER, PLATE(FOR CYLINDER HEAD SET)
main90201-10344i198808-198907
main90201-11018i198808-199105
main90201-11026i198907-199106
main90201-11028i199105-199106
main90201-12222i198808-199106
11101DBOLT, STUD(FOR WATER OUTLET)
main92122-60820i198808-199106
11115GASKET, CYLINDER HEAD
main11115-62030i198808-199106
main11115-64100i198808-199106
main11115-74030i198808-198909
main11115-74070i198909-199106
T=1.25
11117HGASKET(FOR WATER HOLE)
main90430-10204i198808-199106
PNC11118A
main90430-12010i198808-199106
PNC11118C
main90430-24246i198808-199106
main90430-33133i198808-199106
PNC11118B
11118APLUG, STRAIGHT, NO.1
main90341-10005i198808-199106
11118BPLUG, STRAIGHT, NO.2
main90341-32070i198808-199106
11118CPLUG, STRAIGHT, NO.3
main90341-12013i198808-199106
11119APIN, STRAIGHT, NO.1
main90250-06003i198808-199106
L=14,OD=6
main90250-06068i198808-199106
L=11,OD=6
11122BUSH, INTAKE VALVE GUIDE
main11122-16020i198808-199106
STD
main11122-64010i198808-199106
STD
main11123-16020i198808-199106
O/S 0.05
main11123-64010i198808-199106
O/S 0.05
11126BUSH, EXHAUST VALVE GUIDE
main11122-16020i198808-199106
STD
main11123-16020i198808-199106
O/S 0.05
main11126-64010i198808-199106
STD
main11127-64010i198808-199106
O/S 0.05
11155APIN, RING W/HEAD
main90253-10004i198808-199106
main90253-11021i198808-199106
11159BOLT, STUD(FOR HEAD TO CAMSHAFT BEARING CAP)
main90116-06023i198808-199106
11181PLATE, CYLINDER HEAD, REAR
main11181-62010i198808-199106
main11181-64010i198808-199106
11182GASKET, CYLINDER HEAD REAR PLATE
main11182-64010i198808-198903
main11182-64020i198903-199106
11183PLUG, SEMICIRCULAR
main11183-62010i198808-199106
main11183-64010i198808-199106
main11183-74010i198808-199106
11201COVER SUB-ASSY, CYLINDER HEAD
main11201-62020i198808-199106
NO.1
main11201-64090i198808-199106
main11201-74020i198808-199106
main11202-62020i198808-199106
NO.2
11213GASKET, CYLINDER HEAD COVER
main11213-62010i198808-199106
main11213-64040i198808-199106
main11213-74020i198808-199106
12108CAP SUB-ASSY, OIL FILLER
main12180-13030i198808-199106
main12180-65010i198808
12108AGASKET(FOR OIL FILLER CAP)
main90430-37004i198808-199106
main90430-37140i198808-199106
1302
2201
9017906195
9021006007
9161160816

26 parts on this diagram · 3 diagrams in section

CYLINDER HEAD — Toyota Parts Diagram with OEM Numbers & Prices | EPC Data