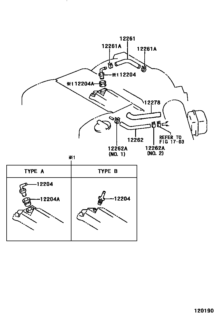
VENTILATION HOSE

12204VALVE SUB-ASSY, VENTILATION
TYPE A:REFER TO ILLUSTRATION
TYPE B:REFER TO ILLUSTRATION
12204AGROMMET(FOR VENTILATION SYSTEM)
12262HOSE, VENTILATION, NO.2
12278INSULATOR, VENTILATION HOSE HEAT
1703
8 parts on this diagram · 5 diagrams in section