E
EPC Data

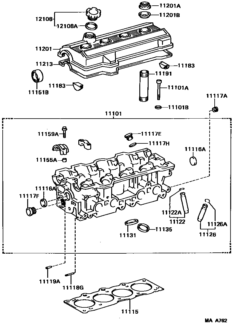
CYLINDER HEAD

Parts diagram
11101HEAD SUB-ASSY, CYLINDER
main11101-69055i198808-199106
main11101-74030i198808-199106
11101ABOLT(FOR CYLINDER HEAD SET)
main90109-10132i198907-199106
main90110-10006i198808-198907
main90910-02077i198808-199106
11101BWASHER, PLATE(FOR CYLINDER HEAD SET)
main90201-10344i198808-198907
main90201-11018i198808-199105
main90201-11026i198907-199106
main90201-11028i199105-199106
11115GASKET, CYLINDER HEAD
main11115-62030i198808-199106
main11115-74030i198808-198909
main11115-74070i198909-199106
T=1.25
11116GASKET, CYLINDER HEAD, NO.2
main11116-62030i198808-199106
11116APLUG, TIGHT, NO.1
main96411-42800i198808-199106
main96411-43000i198808-199106
11117APLUG, W/HEAD TAPER SCREW, NO.1
main90344-53011i198808-199106
11117EPLUG, W/HEAD STRAIGHT SCREW, NO.1
main90341-24009i198808-199106
main90341-24090i198808-199106
11117FPLUG, W/HEAD STRAIGHT SCREW, NO.2
main90341-32031i198808-199106
11117HGASKET(FOR WATER HOLE)
main90430-24246i198808-199106
11118GPIN, SLOTTED SPRING, NO.1
main90249-06084i198808-199106
11119APIN, STRAIGHT, NO.1
main90250-06003i198808-199106
L=14,OD=6
11122BUSH, INTAKE VALVE GUIDE
main11122-16020i198808-199106
STD
main11123-16020i198808-199106
O/S 0.05
11122ARING, SHAFT SNAP (FOR VALVE GUIDE BUSH)
main90520-10004i198808-199106
11126BUSH, EXHAUST VALVE GUIDE
main11122-16020i198808-199106
STD
main11123-16020i198808-199106
O/S 0.05
11126ARING, SHAFT SNAP(FOR VALVE GUIDE BUSH)
main90520-10004i198808-199106
11131SEAT, INTAKE VALVE
main11131-62020i198808-199106
STD
main11131-74020i198808-199106
STD
main11132-62020i198808-199106
O/S 0.03
main11132-74020i198808-199106
O/S 0.03
11135SEAT, EXHAUST VALVE
main11135-62020i198808-199106
STD
main11135-74030i198808-199106
STD
main11136-62020i198808-199106
O/S 0.03
main11136-74030i198808-199106
O/S 0.03
11151BSEAL, OIL(FOR CAMSHAFT SETTING)
main90311-38017i198808-199106
main90311-38034i198808-199106
11155APIN, RING W/HEAD
main90253-10004i198808-199106
11159ABOLT(FOR HEAD TO CAMSHAFT BEARING CAP)
main90119-07005i198808-199106
main90119-07009i199012-199106
11183PLUG, SEMICIRCULAR
main11183-62010i198808-199106
main11183-74010i198808-199106
11191TUBE, SPARK PLUG
main11191-74011i198808-198906
main11191-74030i198906-199106
11201COVER SUB-ASSY, CYLINDER HEAD
main11201-62020i198808-199106
NO.1
main11201-74020i198808-199106
main11202-62020i198808-199106
NO.2
11201ANUT, CAP(FOR CYLINDER HEAD COVER)
main90176-06008i198808-199106
main90179-28004i198808-199106
11201BWASHER, SEAL(FOR CYLINDER HEAD COVER)
main90210-07005i199011-199106
main90210-08025i198808-199011
main90480-30025i198808-199106
11213GASKET, CYLINDER HEAD COVER
main11213-62010i198808-199106
main11213-74020i198808-199106
12108CAP SUB-ASSY, OIL FILLER
main12180-13030i198808-199106
main12180-65010i198808-199107
12108AGASKET(FOR OIL FILLER CAP)
main90430-37004i198808-199106
main90430-37140i198808-199106

29 parts on this diagram · 2 diagrams in section

CYLINDER HEAD — Toyota Parts Diagram with OEM Numbers & Prices | EPC Data