E
EPC Data

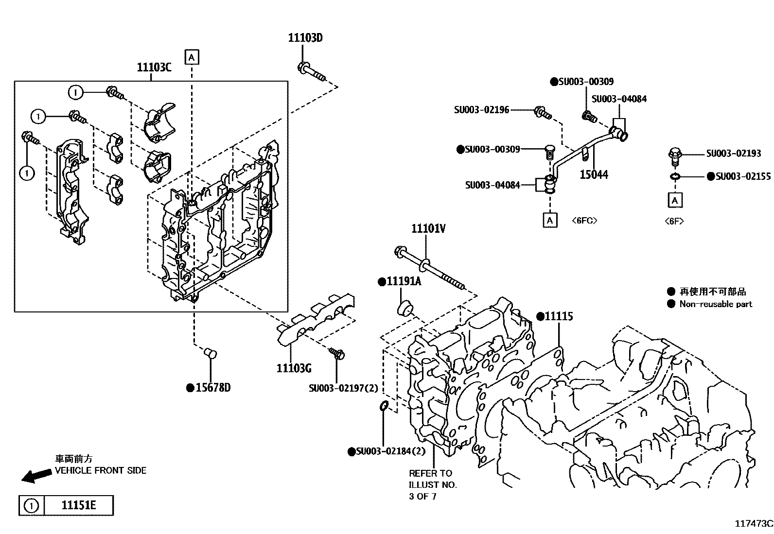
CYLINDER HEAD

Parts diagram
11101HEAD SUB-ASSY, CYLINDER
mainSU00300111i201204-201308
11101VBOLT(FOR CYLINDER HEAD SET SUB)
mainSU00300117×12i201204-201308
11103CHOUSING SUB-ASSY, CAMSHAFT, RH
mainSU00304235i201204-201308
mainSU00304236i201504-201607
11103DBOLT(FOR CAMSHAFT HOUSING TO CYLINDER HEAD, RH)
mainSU00304265×9i201204-201303
mainSU00304841×9i201304-201404
11103GSPACER, OIL, RH
mainSU00300816i201204-201308
11115GASKET, CYLINDER HEAD
mainSU00300112i201204-201308
11151EBOLT(FOR CAMSHAFT BEARING CAP TO HOUSING RH, NO.1)
mainSU00304264×12i201204-201308
11191AGASKET(FOR SPARK PLUG TUBE)
mainSU00300100×2i201204-201308
mainSU00306775×2i201603-201607
15044PIPE SUB-ASSY, CAMSHAFT OIL FEED
mainSU00300308i201204-201308
15678DFILTER, OIL CONTROL VALVE, RH
mainSU00300299×2i201204-201308
SU00300309
SU00302155
SU00302184
SU00302193
SU00302196
SU00302197
SU00304084

17 parts on this diagram · 7 diagrams in section

CYLINDER HEAD — Toyota Parts Diagram with OEM Numbers & Prices | EPC Data