E
EPC Data

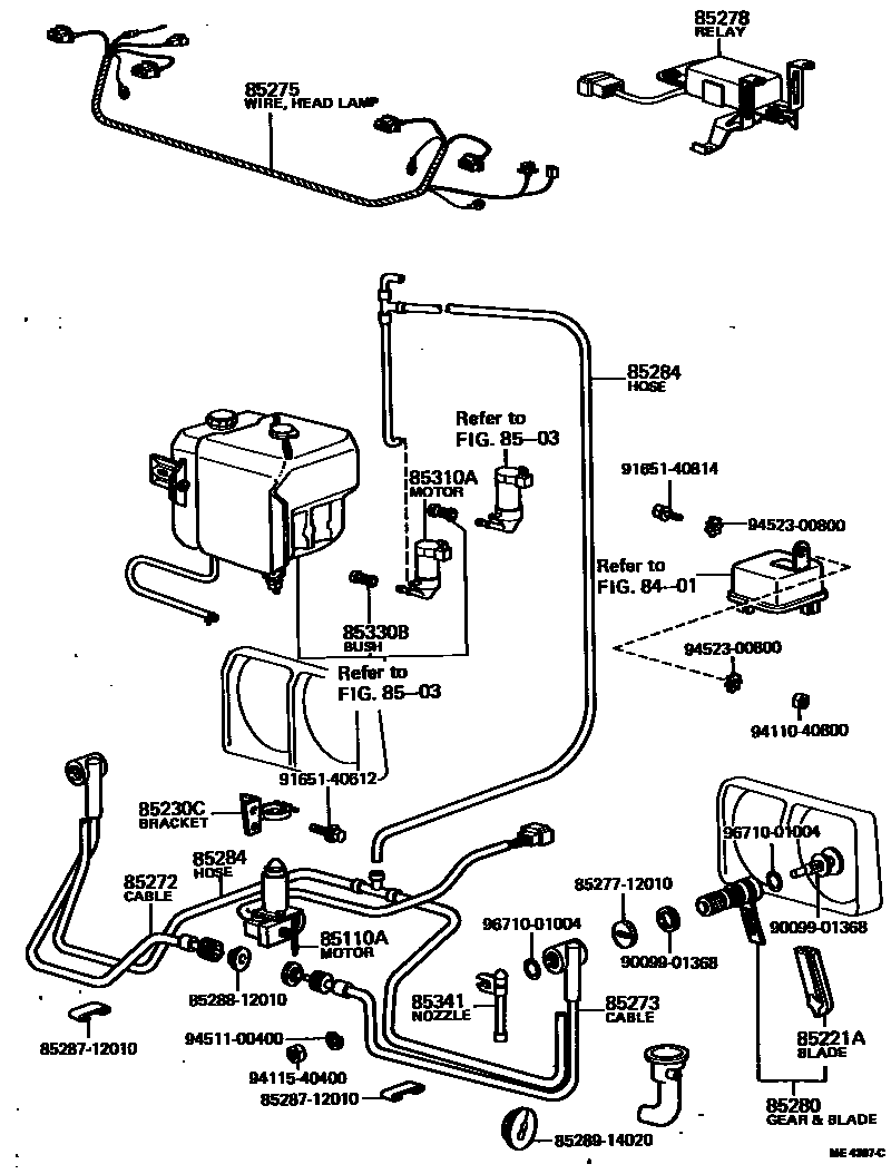
HEADLAMP CLEANER

Parts diagram
8401SWITCH & RELAY & COMPUTER
8503WINDSHIELD WASHER
85110AMOTOR ASSY, HEADLAMP CLEANER
main85110-12110i197409-197509
85221ABLADE ASSY, HEADLAMP CLEANER
main85221-14040×2i197409-197509
85230CBRACKET ASSY, HEADLAMP CLEANER
main85230-20010i197409-197509
85272CABLE SUB-ASSY, HEADLAMP CLEANER, RH
main85272-20010i197409-197509
85273CABLE SUB-ASSY, HEADLAMP CLEANER, LH
main85273-20010i197409-197509
85275WIRING SUB-ASSY, HEADLAMP CLEANER
main82214-12020i197409-197509
85278RELAY ASSY, HEADLAMP CLEANER CONTROL
main85276-12010i197509-197808
main85276-20010i197409-197509
85280GEAR AND BLADE SUB-ASSY, HEADLAMP CLEANER
main85280-14010×2i197409-197509
85284HOSE ASSY, HEADLAMP CLEANER WASHER
main85284-20010i197409-197509
PUMP SIDE
main85284-20030i197409-197509
NOZZLE SIDE
main90446-07002i197509-197808
85310AMOTOR AND PUMP ASSY, HEADLAMP CLEANER WASHER
main85310-12020i197409-197509
main85310-12040i197509-197701
main85310-12050i197701-197808
85330BBUSH, HEADLAMP CLEANER WASHER JAR
main90099-32057i197409-197509
85341NOZZLE, HEADLAMP CLEANER WASHER
main85035-20010×2i197509-197701
main85035-20020×2i197701-197808
main85341-12030i197409-197509
RH
main85341-12040i197409-197509
LH
8527712010HOSE, HEADLAMP CLEANER, C
8528712010JOINT, HEADLAMP CLEANER HOSE, NO.1
8528812010JOINT, HEADLAMP CLEANER HOSE NO.2
8528914020
9009901368
9165140612
9165140814
9411040800
9411540400
9451100400
9452300800
9671001004

26 parts on this diagram · 2 diagrams in section

HEADLAMP CLEANER — Toyota Parts Diagram with OEM Numbers & Prices | EPC Data