E
EPC Data

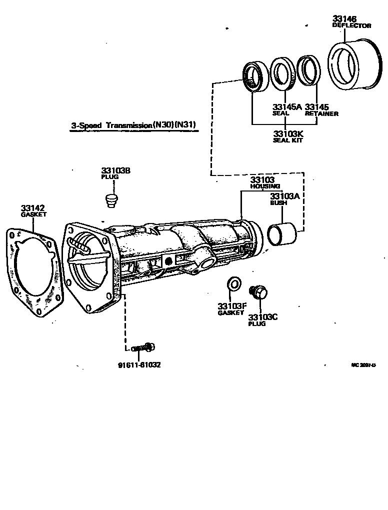
EXTENSION HOUSING (MTM)

Parts diagram
33103HOUSING SUB-ASSY, EXTENSION(MTM)
main33103-20090i197308-197905
main33103-20100i197308-197808
main33103-30120i197308-197509
main33103-30150i197509-197808
33103ABUSH(FOR MANUAL TRANSMISSION EXTENSION HOUSING)
main90999-72012i197308-197410
main90999-72023i197509-197905
main90999-73062i197308-197808
main90999-73077i197509-197808
33103BPLUG, BREATHER(FOR TRANSMISSION EXTENSION HOUSING)
main90930-03001i197308-197808
33103CPLUG, NO.1(FOR EXTENSION HOUSING)
main90341-18002i197308-197509
33103FGASKET(FOR EXTENSION HOUSING PLUG NO.1)
main12157-10010i197308-197509
33103KSEAL KIT, OIL(FOR MANUAL TRANSMISSION EXTENSION HOUSING)
main04332-30010i197308-197905
33142GASKET, EXTENSION HOUSING(MTM)
main33142-20020i197510-197808
main33142-30030i197308-197509
main33142-30040i197509-197808
main33142-31010i197308-197510
33145RETAINER, EXTENSION HOUSING DUST SEAL(MTM)
main33145-30010i197308-197905
33145ASEAL, DUST(FOR MANUAL TRANSMISSION EXTENSION HOUSING)
main90303-38010i197308-197905
33146DEFLECTOR, EXTENSION HOUSING DUST(MTM)
main33146-30010i197308-197905
9161161032

11 parts on this diagram · 4 diagrams in section

EXTENSION HOUSING (MTM) — Toyota Parts Diagram with OEM Numbers & Prices | EPC Data