MANIFOLD

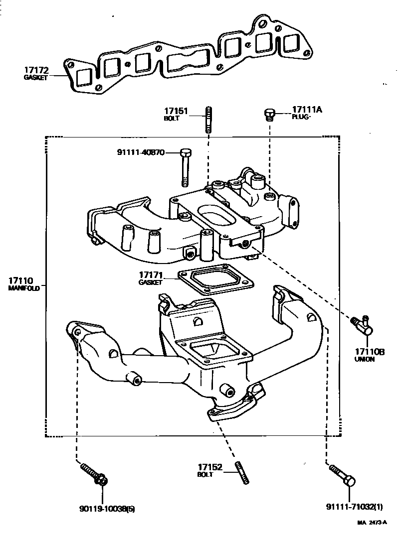
17110MANIFOLD ASSY
17110BUNION(FOR VENTILATION HOSE TO MANIFOLD)
17111MANIFOLD, INTAKE
17111APLUG, NO.1
L=9,P=1/8
L=14,P=3/8
17151BOLT, STUD(FOR MANIFOLD TO CARBURETOR)
FR
RR
L=53,S=14&14
L=43,S=12&12
17152BOLT, STUD(FOR MANIFOLD TO EXHAUST PIPE)
L=41,S=14&21
L=44,S=14&21
L=46.5,S=14&20
L=37,S=15&15
17171GASKET, INTAKE TO EXHAUST MANIFOLD
17172GASKET, MANIFOLD TO CYLINDER HEAD
9011910038
main90119-10038
9111140870
main91111-40870
9111171032
main91111-71032
11 parts on this diagram · 7 diagrams in section