E
EPC Data

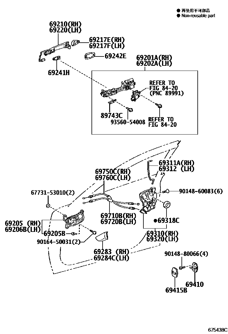
FRONT DOOR LOCK & HANDLE

Parts diagram
69201AFRAME SUB-ASSY, FRONT DOOR OUTSIDE HANDLE, RH
main69201-53010i200712
main69201-53020i200712
69202AFRAME SUB-ASSY, FRONT DOOR OUTSIDE HANDLE, LH
main69202-53010i200712
69205HANDLE SUB-ASSY, FRONT DOOR INSIDE, RH
main69207-30070-C0i200712-201207
BLACK,TRIM2#
main69207-30071-C0i201208-201408
BLACK,TRIM2#
69205BCUSHION(FOR FRONT DOOR INSIDE HANDLE)
main90541-04014i200712
69206BHANDLE SUB-ASSY, FRONT DOOR INSIDE, LH
main69208-30050-C0i200712-201207
BLACK,TRIM2#
main69208-30051-C0i201208-201408
BLACK,TRIM2#
69210HANDLE ASSY, FRONT DOOR, OUTSIDE RH
main69210-53040-A2i200712-201208
WHITE PEARL CS.,077
main69210-53040-A3i201208-201408
WHITE NOVA GF.,083
main69210-53040-B0i200712-201108
DK.GRAY MC.,1G0
main69210-53040-B2i200712-201208
PREMIUM SILVER,1F2
main69210-53040-B4i201108-201408
MERCURY GRAY MC.,1H9
main69210-53040-B6i201208-201408
SONIC SILVER,1J2
main69210-53040-C1i200712-201408
BLACK,212
main69210-53040-C2i201008-201408
STARLIGHT BLACK GF.,217
main69210-53040-D0i200712-201408
RED MC.CS.,3R1
main69210-53040-J4i200712-201408
BLUE ME.,8U1
69217ECOVER, FRONT DOOR OUTSIDE HANDLE, RH
main69217-53011-A2i200712-201208
WHITE PEARL CS.,077
main69217-53011-A3i201208-201408
WHITE NOVA GF.,083
main69217-53011-B0i200712-201108
DK.GRAY MC.,1G0
main69217-53011-B2i200712-201208
PREMIUM SILVER,1F2
main69217-53011-B4i201108-201408
MERCURY GRAY MC.,1H9
main69217-53011-B6i201208-201408
SONIC SILVER,1J2
main69217-53011-C1i200712-201408
BLACK,212
main69217-53011-C2i201008-201408
STARLIGHT BLACK GF.,217
main69217-53011-D0i200712-201408
RED MC.CS.,3R1
main69217-53011-J4i200712-201408
BLUE ME.,8U1
main69217-53021-A2i200712-201208
WHITE PEARL CS.,077
main69217-53021-A3i201208-201408
WHITE NOVA GF.,083
main69217-53021-B0i200712-201108
DK.GRAY MC.,1G0
main69217-53021-B2i200712-201208
PREMIUM SILVER,1F2
main69217-53021-B4i201108-201408
MERCURY GRAY MC.,1H9
main69217-53021-B6i201208-201408
SONIC SILVER,1J2
main69217-53021-C1i200712-201408
BLACK,212
main69217-53021-C2i201008-201408
STARLIGHT BLACK GF.,217
main69217-53021-D0i200712-201408
RED MC.CS.,3R1
main69217-53021-J4i200712-201408
BLUE ME.,8U1
69217FCOVER, FRONT DOOR OUTSIDE HANDLE, LH
main69218-53011-A2i200712-201208
WHITE PEARL CS.,077
main69218-53011-A3i201208-201408
WHITE NOVA GF.,083
main69218-53011-B0i200712-201108
DK.GRAY MC.,1G0
main69218-53011-B2i200712-201208
PREMIUM SILVER,1F2
main69218-53011-B4i201108-201408
MERCURY GRAY MC.,1H9
main69218-53011-B6i201208-201408
SONIC SILVER,1J2
main69218-53011-C1i200712-201408
BLACK,212
main69218-53011-C2i201008-201408
STARLIGHT BLACK GF.,217
main69218-53011-D0i200712-201408
RED MC.CS.,3R1
main69218-53011-J4i200712-201408
BLUE ME.,8U1
main69218-53021-A2i200712-201208
WHITE PEARL CS.,077
main69218-53021-A3i201208-201408
WHITE NOVA GF.,083
main69218-53021-B0i200712-201108
DK.GRAY MC.,1G0
main69218-53021-B2i200712-201208
PREMIUM SILVER,1F2
main69218-53021-B4i201108-201408
MERCURY GRAY MC.,1H9
main69218-53021-B6i201208-201408
SONIC SILVER,1J2
main69218-53021-C1i200712-201408
BLACK,212
main69218-53021-C2i201008-201408
STARLIGHT BLACK GF.,217
main69218-53021-D0i200712-201408
RED MC.CS.,3R1
main69218-53021-J4i200712-201408
BLUE ME.,8U1
69220HANDLE ASSY, FRONT DOOR OUTSIDE, LH
main69220-53040-A2i200712-201208
WHITE PEARL CS.,077
main69220-53040-A3i201208-201408
WHITE NOVA GF.,083
main69220-53040-B0i200712-201108
DK.GRAY MC.,1G0
main69220-53040-B2i200712-201208
PREMIUM SILVER,1F2
main69220-53040-B4i201108-201408
MERCURY GRAY MC.,1H9
main69220-53040-B6i201208-201408
SONIC SILVER,1J2
main69220-53040-C1i200712-201408
BLACK,212
main69220-53040-C2i201008-201408
STARLIGHT BLACK GF.,217
main69220-53040-D0i200712-201408
RED MC.CS.,3R1
main69220-53040-J4i200712-201408
BLUE ME.,8U1
69241HPAD, FRONT DOOR OUTSIDE HANDLE, FRONT
main69241-53010i200712
RH
main69242-53010i200712
LH
69242EPAD, FRONT DOOR OUTSIDE HANDLE, REAR
main69241-50030i200712
RH
main69242-50030i200712
LH
69283PLUG, FRONT DOOR INSIDE HANDLE BEZEL, RH
main69283-30050-C0i200712-201408
BLACK,TRIM2#
69284CPLUG, FRONT DOOR INSIDE HANDLE BEZEL, LH
main69284-30050-C0i200712-201408
BLACK,TRIM2#
69310LOCK ASSY, FRONT DOOR, RH
main69030-53080i200712
main69030-53090i200712-201107
main69030-60250i201108
69311AROD, FRONT DOOR LOCK OPEN, RH
main69311-53040i200712
69312ROD, FRONT DOOR LOCK OPEN, LH
main69312-53040i200712
69318CSEAL, DOOR LOCK WIRING HARNESS
main69318-51010i200712
69320LOCK ASSY, FRONT DOOR, LH
main69040-53090i200712-201107
main69040-53100i200712
main69040-60220i201108
69410PLATE ASSY, FRONT DOOR LOCK STRIKER
main69410-30060i200712
69415BCOVER, DOOR LOCK STRIKER, FRONT
main69415-33010i200712-201209
main69415-60020i201210
69710BCABLE ASSY, FRONT DOOR LOCK REMOTE CONTROL, RH
main69710-53040i200712
69720BCABLE ASSY, FRONT DOOR LOCK REMOTE CONTROL, LH
main69710-53040i200712
69750CCABLE ASSY, FRONT DOOR INSIDE LOCKING, RH
main69750-53050i200712
69760CCABLE ASSY, FRONT DOOR INSIDE LOCKING LH
main69750-53050i200712
8420
89743CBRACKET, ELECTRICAL KEY WIRE HARNESS
main89743-53010i200712-201408
RH
main89743-53020i200712-201408
LH
6773153010SPACER, SIDE TRIM, NO.1
9014860083
9014880066
9016450031
9356054008

31 parts on this diagram · 1 diagram in section

FRONT DOOR LOCK & HANDLE — Toyota Parts Diagram with OEM Numbers & Prices | EPC Data