E
EPC Data

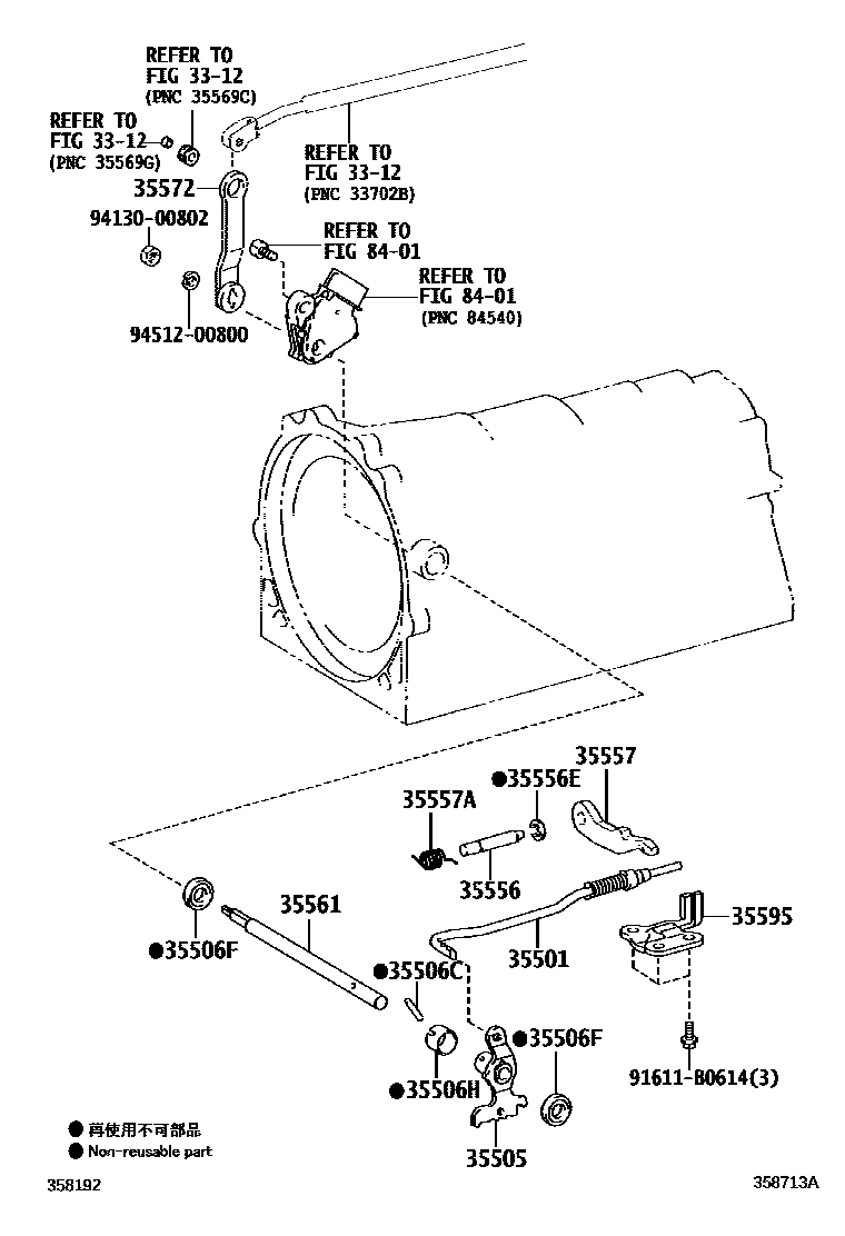
THROTTLE LINK & VALVE LEVER (ATM)

Parts diagram
3312
35501ROD SUB-ASSY, PARKING LOCK
main35501-30060i201304-201508
main35501-50020i201508-201804
35505LEVER SUB-ASSY, MANUAL VALVE
main35505-30040i201508-201804
main35505-53040i201304-201508
35506CPIN, SLOTTED SPRING (FOR MANUAL VALVE LEVER SHAFT)
main90254-04011i201304-201804
35506FSEAL, OIL (FOR MANUAL VALVE LEVER SHAFT)
main90311-12002i201304-201804
35506HSPACER (FOR MANUAL VALVE LEVER SHAFT)
main90560-20025i201304-201804
35556SHAFT, PARKING LOCK PAWL
main35556-60020i201304-201804
35556ERING, E (FOR PARKING LOCK PAWL SHAFT)
main90523-08021i201304-201804
35557PAWL, PARKING LOCK
main35557-30050i201304-201508
main35590-50020i201508-201804
35557ASPRING, TORSION (FOR PARKING LOCK PAWL)
main90949-03137i201304-201508
35561SHAFT, MANUAL VALVE LEVER
main35561-50020i201304-201508
main35561-50030i201508-201804
35572LEVER, TRANSMISSION CONTROL SHAFT, RH
main35572-30070i201304-201508
main35572-30100i201508-201804
35595BRACKET, PARKING LOCK PAWL
main35595-50010i201304-201508
main35595-50020i201508-201804
8401
91611B0614
9413000802
9451200800

17 parts on this diagram · 2 diagrams in section

THROTTLE LINK & VALVE LEVER (ATM) — Toyota Parts Diagram with OEM Numbers & Prices | EPC Data