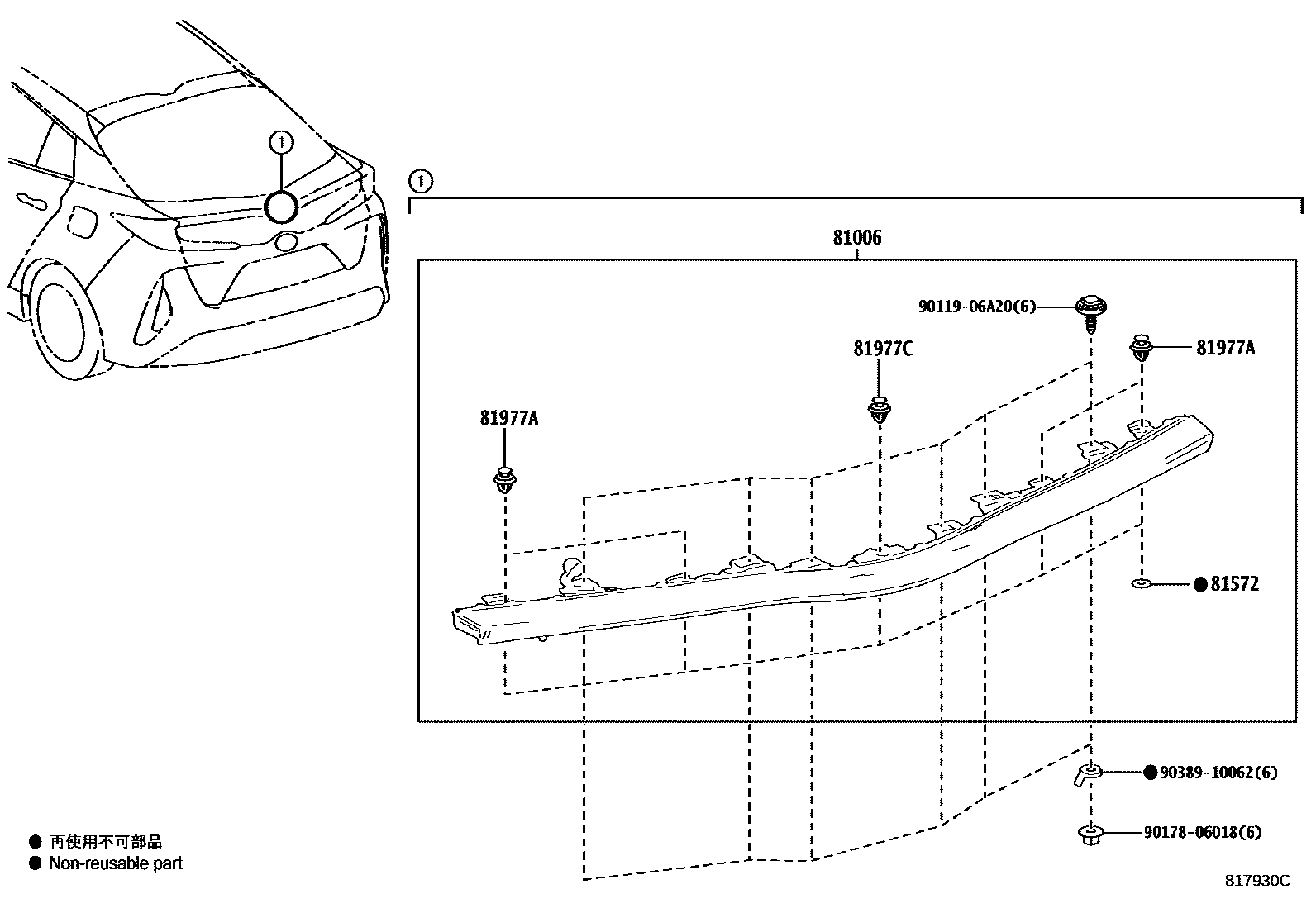
CENTER STOP LAMP

81572GASKET, CENTER STOP LAMP
81977ACLIP (FOR CENTER STOP LAMP)
81977CCLIP (FOR CENTER STOP LAMP), NO.2
COLOR : WHITE
COLOR:RED
9011906A20
main90119-06A20
9017806018
main90178-06018
9038910062
main90389-10062
7 parts on this diagram · 2 diagrams in section