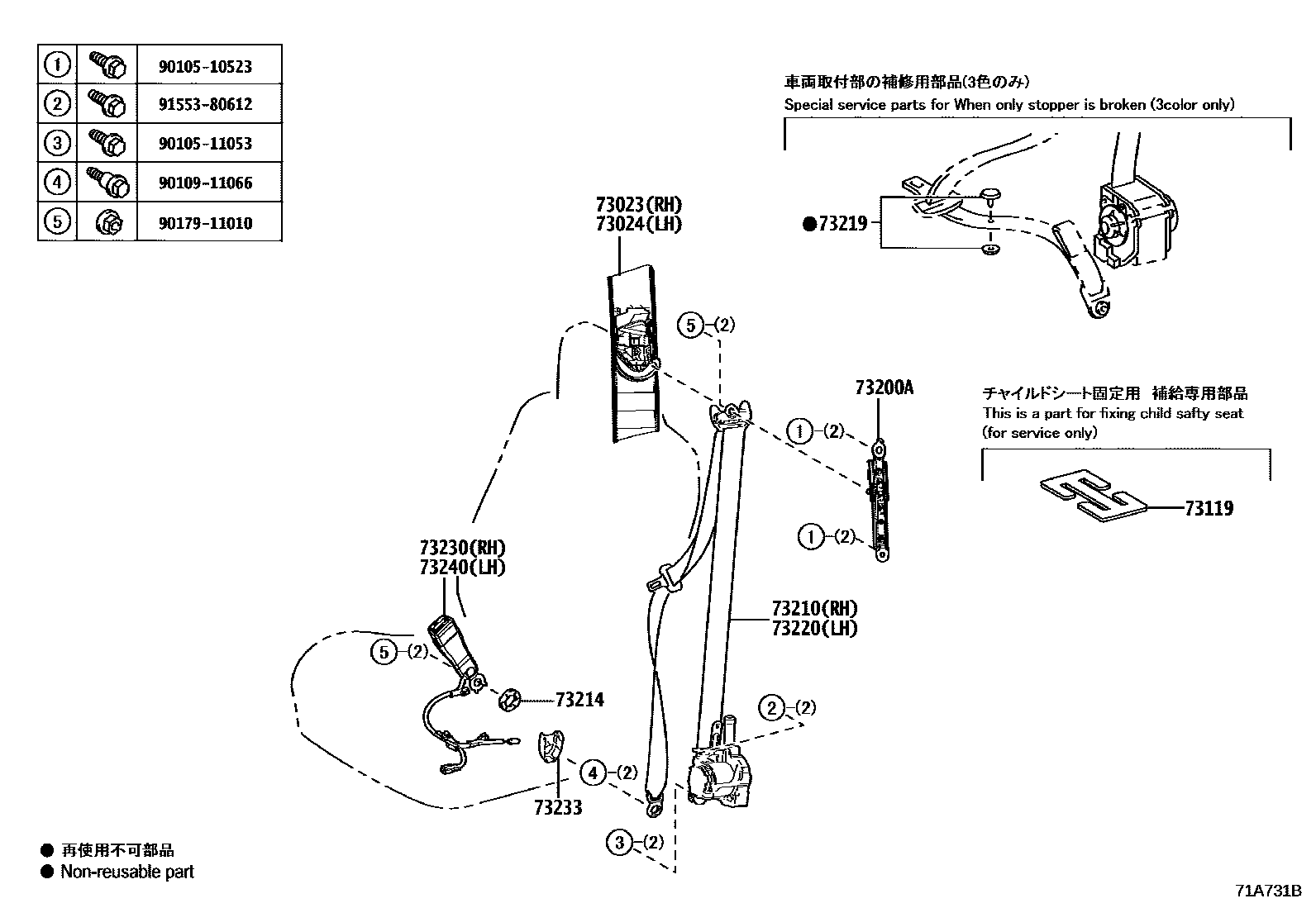
SEAT BELT & CHILD RESTRAINT SEAT

73023PLATE SUB-ASSY, FRONT SHOULDER BELT ANCHOR, RH
BLACK,TRIM1#,2#
73024PLATE SUB-ASSY, FRONT SHOULDER BELT ANCHOR, LH
73119PLATE, SEAT BELT WEBBING CLIP
73200AADJUSTER ASSY, FRONT SHOULDER BELT ANCHOR
73210BELT ASSY, FRONT SEAT OUTER, RH
BLACK/BLACK,TRIM1#,2#
73214PLATE, FRONT SEAT BELT ANCHOR
73219STOPPER, TONGUE PLATE
BLACK
GRAY
BEIGE
73220BELT ASSY, FRONT SEAT OUTER, LH
BLACK/BLACK,TRIM1#,2#
73230BELT ASSY, FRONT SEAT INNER, RH
BLACK,TRIM1#,2#
BLACK,TRIM1#,2#
73233COVER, LAP BELT OUTER ANCHOR
73240BELT ASSY, FRONT SEAT INNER, LH
BLACK,TRIM1#,2#
BLACK,TRIM1#,2#
9010510523
main90105-10523
9010511053
main90105-11053
9010911066
main90109-11066
9017911010
main90179-11010
9155380612
main91553-80612
16 parts on this diagram · 3 diagrams in section