E
EPC Data

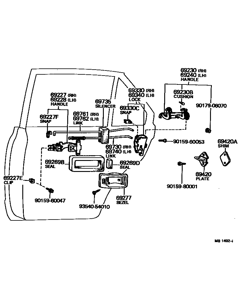
REAR DOOR LOCK & HANDLE

Parts diagram
69227HANDLE, REAR DOOR INSIDE, RH
main69027-20010i197108-197509
main69027-20010-01i197510-197707
BLACK,BLACK,TRIM2#
main69027-20010-06i197510-197707
BROWN,BROWN,TRIM4#
main69027-20010-08i197510-197707
IVORY,IVORY,TRIM0#
main69207-20020i197012-197101
main69207-20021i197101-197108
69227ECLIP(FOR REAR DOOR INSIDE HANDLE)
main90189-06010i197012-197707
69227FSNAP(FOR REAR DOOR INSIDE HANDLE)
main69273-10010i197012-197707
69228HANDLE, REAR DOOR INSIDE, LH
main69028-20010i197108-197509
main69028-20010-01i197510-197707
BLACK,BLACK,TRIM2#
main69028-20010-06i197510-197707
BROWN,BROWN,TRIM4#
main69028-20010-08i197510-197707
IVORY,IVORY,TRIM0#
main69208-20010i197012-197101
main69208-20011i197101-197108
69230HANDLE ASSY, REAR DOOR OUTSIDE, RH
main69230-19035i197012-197707
69230BCUSHION(FOR REAR DOOR OUTSIDE HANDLE)
main90541-02006i197012-197205
main90541-03112i197205-197707
69240HANDLE ASSY, REAR DOOR OUTSIDE, LH
main69240-19035i197012-197707
69269BSEAL, DOOR INSIDE HANDLE NO.1(FOR REAR DOOR)
main69269-12020i197612-197707
ARCTIC
69269DSEAL, DOOR INSIDE HANDLE NO.2(FOR REAR DOOR)
main69289-12010i197612-197707
ARCTIC
69277BEZEL, REAR DOOR INSIDE HANDLE
main69276-20010i197012-197101
main69276-20011i197101-197108
main69278-20010i197108-197509
main69278-20010-01i197510-197707
BLACK,BLACK,TRIM2#
main69278-20010-06i197510-197707
BROWN,BROWN,TRIM4#
main69278-20010-08i197510-197707
IVORY,IVORY,TRIM0#
69330LOCK ASSY, REAR DOOR, RH
main69330-14010i197012-197707
69330CSNAP(FOR REAR DOOR LOCK)
main69377-30020i197707-197707
69340LOCK ASSY, REAR DOOR, LH
main69340-14010i197012-197707
69420PLATE ASSY, REAR DOOR LOCK STRIKER
main69410-14010i197012-197707
69420ASHIM, REAR DOOR LOCK STRIKER PLATE
main69491-14010i197201-197707
T=1.2
69730LINK ASSY, REAR DOOR OPEN CONTROL, RH
main69730-14010i197012-197707
69735SILENCER, REAR DOOR LOCK LINK
main69759-12011i197210-197707
main69759-20010i197012-197207
main69759-20011i197208-197210
69740LINK ASSY, REAR DOOR OPEN CONTROL, LH
main69740-14010i197012-197707
69761LINK, REAR DOOR LOCK CONTROL, NO.1 RH
main69765-14010i197012-197707
69762LINK, REAR DOOR LOCK CONTROL, NO.1 LH
main69766-14010i197012-197707
9015960047
9015960053
9015980001
9017906070
9354054010

25 parts on this diagram · 1 diagram in section

REAR DOOR LOCK & HANDLE — Toyota Parts Diagram with OEM Numbers & Prices | EPC Data