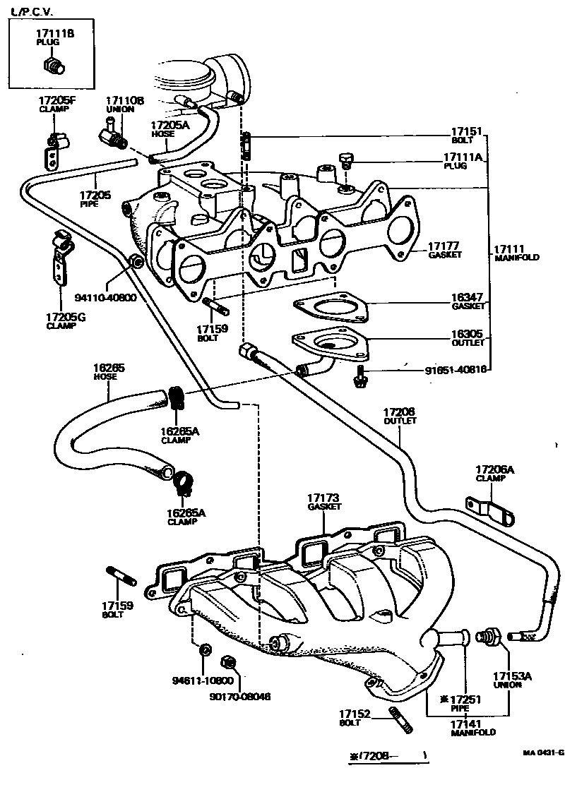
MANIFOLD

16265HOSE, INTAKE MANIFOLD WATER
16265ACLAMP OR CLIP, HOSE(FOR INTAKE MANIFOLD WATER)
16305OUTLET SUB-ASSY, WATER BY-PASS
16347GASKET, WATER BY-PASS
17110BUNION(FOR VENTILATION HOSE TO MANIFOLD)
17111MANIFOLD, INTAKE
17111BPLUG, NO.2
L/P.C.V.
17141MANIFOLD, EXHAUST
17151BOLT, STUD(FOR MANIFOLD TO CARBURETOR)
L=30,S=13&13
L=33,S=13&13
L=39,S=13&13
17152BOLT, STUD(FOR MANIFOLD TO EXHAUST PIPE)
L=39,S=14&19
L=38,S=14&14
17153AUNION(FOR AUTOMATIC CHOKE STOVE PIPE)
17159BOLT, STUD(FOR MANIFOLD TO CYLINDER HEAD)
L=34.5,S=12&19
L=37,S=13.5&13.5
L=34.5,S=12&19
L=34.5,S=12&19
17173GASKET, EXHAUST MANIFOLD TO HEAD
17177GASKET, INTAKE MANIFOLD TO HEAD, NO.1
17205PIPE, AUTOMATIC CHOKE STOVE INLET
17205AHOSE(FOR AUTOMATIC CHOKE STOVE PIPE)
17205FCLAMP(FOR AUTOMATIC CHOKE STOVE INLET PIPE)
17205GCLAMP, NO.2(FOR AUTOMATIC CHOKE STOVE INLET PIPE)
17206PIPE, AUTOMATIC CHOKE STOVE OUTLET
17206ACLAMP(FOR AUTOMATIC CHOKE STOVE OUTLET PIPE)
17251PIPE,AUTOMATIC CHOKE STOVE
9017008046
main90170-08046
9165140816
main91651-40816
9411040800
main94110-40800
9461110800
main94611-10800
26 parts on this diagram · 5 diagrams in section