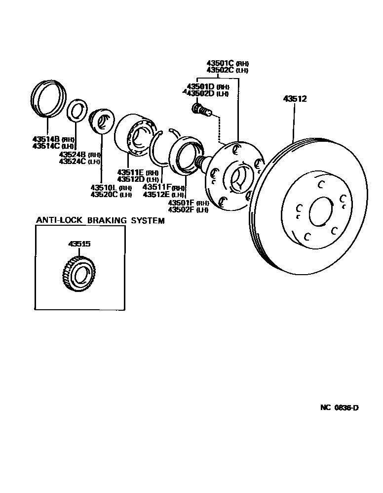
FRONT AXLE HUB

43501CHUB SUB-ASSY, FRONT AXLE, RH
43501DBOLT, HUB (FOR FRONT AXLE RH)
43501FSEAL, OIL (FOR FRONT AXLE HUB RH)
43502CHUB SUB-ASSY, FRONT AXLE, LH
43502DBOLT, HUB (FOR FRONT AXLE LH)
43502FSEAL, OIL (FOR FRONT AXLE HUB LH)
43510LNUT (FOR STEERING KNUCKLE RH)
43511EBEARING (FOR FRONT AXLE HUB RH)
43511FRING, HOLE SNAP (FOR FRONT AXLE HUB RH)
43512DBEARING (FOR FRONT AXLE HUB LH)
43512ERING, HOLE SNAP (FOR FRONT AXLE HUB LH)
43514BCAP, FRONT AXLE HUB GREASE, RH
43514CCAP, FRONT AXLE HUB GREASE, LH
43515ROTOR, SKID CONTROL, FRONT
43520CNUT (FOR STEERING KNUCKLE LH)
43524BSPACER, FRONT WHEEL INNER BEARING, RH
43524CSPACER, FRONT WHEEL INNER BEARING, LH
18 parts on this diagram · 1 diagram in section