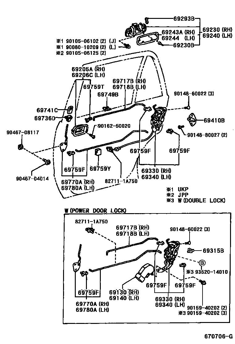
REAR DOOR LOCK & HANDLE

69130ACTUATOR ASSY, REAR DOOR LOCK, RH
W(DOUBLE-LOCK)
W(DOUBLE-LOCK)
69140ACTUATOR ASSY, REAR DOOR LOCK, LH
main69140-12010iZZE111..LHD..LB;ZZE111..RHD..LB..TERRA;CDE110,ZZE112..LB..TERRA;CDE110,WZE110,ZZE112..LHD..LB..SOL;AE111,EE111,WZE110..UKP..(LUNA,TERRA)199704-200111
W(DOUBLE-LOCK)
W(DOUBLE-LOCK)
69205AHANDLE SUB-ASSY, REAR DOOR INSIDE, RH
IVORY,TRIM0#,(L)
SHADOW GRAY,TRIM12,(L)
MD.CHARCOAL,TRIM10,(L)
SHADOW GRAY,TRIM1#
sub69207-12030
69206CHANDLE SUB-ASSY, REAR DOOR INSIDE, LH
IVORY,TRIM0#,(L)
SHADOW GRAY,TRIM12,(L)
MD.CHARCOAL,TRIM10,(L)
SHADOW GRAY,TRIM1#
SHADOW GRAY,TRIM16
MD.CHARCOAL,TRIM11
SHADOW GRAY,TRIM12
sub69208-12030
MD.CHARCOAL,TRIM10
sub69208-12030
69230HANDLE ASSY, REAR DOOR OUTSIDE, RH
SUPER WHITE 2,040
SILVER ME,199
BLACK ME,205
CORAL REEF M.M.,3L6
SU.RED 3,3J6
RED M.M.,3N8
GOLD ME.,581
GREEN M.M.,6P5
DK.GREEN M.M.,6P3
GREEN MC.,6R8
BLUE M.M.,8L5
DK.BLUE,8M4
BLUE M.M.,8M9
DK.BLUE M.M.,8L3
VIOLET M.M.,944
BLACK
69230BCUSHION(FOR REAR DOOR OUTSIDE HANDLE)
69240HANDLE ASSY, REAR DOOR OUTSIDE, LH
SUPER WHITE 2,040
SILVER ME,199
BLACK ME,205
CORAL REEF M.M.,3L6
SU.RED 3,3J6
RED M.M.,3N8
GOLD ME.,581
GREEN M.M.,6P5
DK.GREEN M.M.,6P3
GREEN MC.,6R8
BLUE M.M.,8L5
DK.BLUE,8M4
BLUE M.M.,8M9
DK.BLUE M.M.,8L3
VIOLET M.M.,944
BLACK
SUPER WHITE 2,040
SILVER ME,199
BLACK ME,205
CORAL REEF M.M.,3L6
RED,3M7
SUPER RED II,3E5
RED M.M.,3N8
APRICOT M.M.,4P0
GOLD ME.,581
GREEN M.M.,6P5
GREEN MC.,6R8
BLUE M.M.,8L5
DK.BLUE,8M4
BLUE M.M.,8M9
DK.BLUE M.M.,8L3
LAVENDER ME.,932
VIOLET M.M.,944
69243APAD, REAR DOOR OUTSIDE HANDLE, RH
69244PAD, REAR DOOR OUTSIDE HANDLE, LH
69293BSNAP, REAR DOOR OUTSIDE HANDLE
RH
LH
69315BRETAINER, REAR DOOR LOCK SOLENOID
69330LOCK ASSY, REAR DOOR, RH
W(POWER DOOR LOCK)
W(DOUBLE-LOCK)
W(POWER DOOR LOCK)
69340LOCK ASSY, REAR DOOR, LH
W(POWER DOOR LOCK)
W(DOUBLE-LOCK)
W(POWER DOOR LOCK)
69410BPLATE ASSY, REAR DOOR LOCK STRIKER
69717BLINK, REAR DOOR LOCK REMOTE CONTROL, RH
69718BLINK, REAR DOOR LOCK REMOTE CONTROL, LH
69736DGUIDE, REAR DOOR LOCKING LINK
69741CKNOB, REAR DOOR LOCK CONTROL
IVORY,TRIM0#
SHADOW GRAY,TRIM1#
SHADOW GRAY,TRIM16
MD.CHARCOAL,TRIM11
SHADOW GRAY,TRIM12
sub69741-12040
MD.CHARCOAL,TRIM10
sub69741-12040
69749BCLAMP, REAR DOOR LOCK LINK
69759FSNAP, REAR DOOR LOCK CONTROL LINK
NATURAL
BLUE
YELLOW
BROWN
69759TSNAP, REAR DOOR INSIDE HANDLE
LH
RH
69759YSILENCER, REAR DOOR LOCK LINK
69770ALINK ASSY, REAR DOOR INSIDE LOCKING, RH
main69770-12120iZZE11#..UKP..LHD;WZE110..LHD..LB..SOL;ZZE11#..UKP..RHD..TERRA;AE111,EE111,WZE110..UKP..(LUNA,TERRA)199809-200111
W(DOUBLE-LOCK)
W(DOUBLE-LOCK)
69780ALINK ASSY, REAR DOOR INSIDE LOCKING, LH
main69780-12120iZZE11#..UKP..LHD;WZE110..LHD..LB..SOL;ZZE11#..UKP..RHD..TERRA;AE111,EE111,WZE110..UKP..(LUNA,TERRA)199809-200111
W(DOUBLE-LOCK)
W(DOUBLE-LOCK)
827111A750WIRE, FUSE TO FUSE(FOR COMBUSTION HEATER)
main82711-1A750
9008010209
main90080-10209
9010506102
main90105-06102
9010506125
main90105-06125
9014860022
main90148-60022
9014880027
main90148-80027
9015940202
main90159-40202
9016250020
main90162-50020
9046704014
main90467-04014
9046708117
main90467-08117
9352014010
main93520-14010
35 parts on this diagram · 1 diagram in section