E
EPC Data

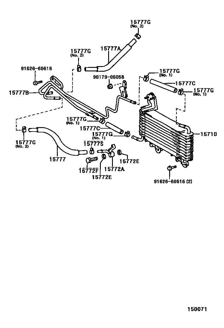
ENGINE OIL COOLER

Parts diagram
15710COOLER ASSY, OIL
main15700-16070i199205-199505
main15700-16080i199505
main15710-64010i199205
15772AUNION(FOR OIL PIPE)
main90405-10030i199205
main90405-10043i199211-199505
15772EGASKET(FOR OIL PIPE)
main90430-12027×2i199205-199312
main90430-12031×2i199312
15772FBOLT, UNION(FOR OIL PIPE)
main90401-12009i199205
15777HOSE, OIL COOLER
main15777-16110i199205
main90445-21006×3i199205
15777AHOSE, OIL COOLER
main15778-16080i199205
15777BPIPE, OIL COOLER
main15767-16120i199205
main15767-64011i199205
NO.2
main15768-64071i199205
NO.1
main15769-64011i199205
NO.3
15777CHOSE, OIL COOLER
main15779-16030×2i199205
15777GCLAMP OR CRIP, HOSE
main90467-15018×4i199205
NO.1
main90467-15025×3i199205
NO.2
main90467-20005×6i199205
15777SCLAMP OR CLIP, HOSE
main90467-15025i199205
9017906058
9162660616

12 parts on this diagram · 2 diagrams in section

ENGINE OIL COOLER — Toyota Parts Diagram with OEM Numbers & Prices | EPC Data