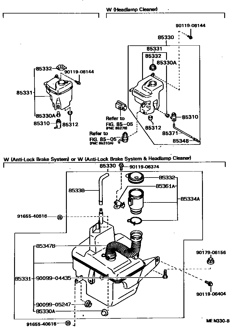
WINDSHIELD WASHER

8505
85312PACKING, WINDSHIELD WASHER TANK
85330JAR ASSY, WINDSHIELD WASHER
W(*HC)
W(ABS & *HC) OR W(PS & *HC)
85330ABUSH, WINDSHIELD WASHER JAR
85331JAR SUB-ASSY, WINDSHIELD WASHER
W(ABS & *HC) OR W(PS & *HC)
W(*HC)
W(ABS)
85334ACAP SUB-ASSY, TANK
85338HOSE, BREATHER
85347BHOSE, TANK
85348JOINT, WINDSHIELD WASHER HOSE, NO.1
3-WAY
2-WAY
85361ABRACKET, WINDSHIELD WASHER, NO.1
sub85361-12740
85371HOSE, WINDSHIELD WASHER (FROM MOTOR TO JOINT)
L=1800
9009904435
main90099-04435
9009905247
main90099-05247
9011906144
main90119-06144
9011906374
main90119-06374
9011906404
main90119-06404
9017906156
main90179-06156
9165540616
main91655-40616
20 parts on this diagram · 2 diagrams in section