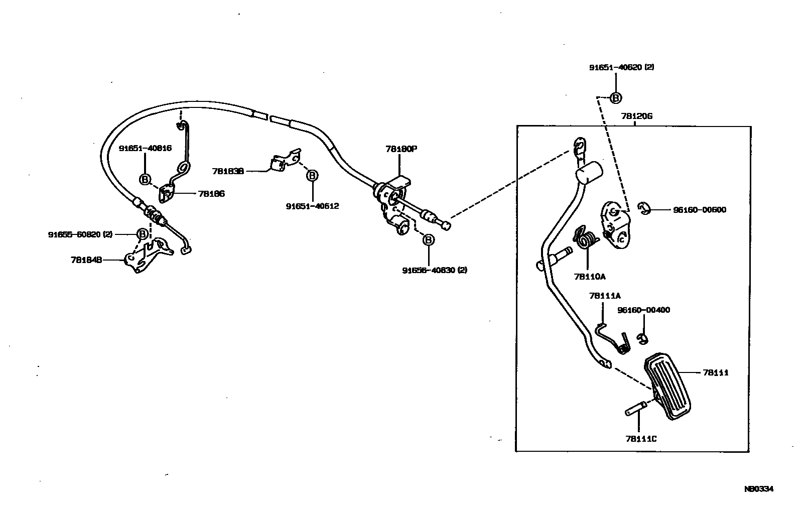
ACCELERATOR LINK

78110ASPRING (FOR ACCELERATOR PEDAL ROD)
78111PEDAL, ACCELERATOR
78111ASPRING (FOR ACCELERATOR PEDAL)
78111CPIN (FOR ACCELERATOR PEDAL)
78120GROD ASSY, ACCELERATOR PEDAL
78180PCABLE ASSY, ACCELERATOR CONTROL
sub78180-12841
sub78180-12861
sub78180-1A101
sub78180-1A271
sub78180-1A321
78183BCLAMP, ACCELERATOR CONTROL CABLE
TYPE A
78184BBRACKET, ACCELERATOR CONTROL CABLE
78186SUPPORT, ACCELERATOR CONTROL CABLE, NO.1
TYPE A
TYPE B
NO.1
NO.2
9165140612
main91651-40612
9165140620
main91651-40620
9165140816
main91651-40816
9165560820
main91655-60820
9165640630
main91656-40630
9616000400
main96160-00400
9616000600
main96160-00600
16 parts on this diagram · 6 diagrams in section