E
EPC Data
Pricing
API Docs
Sign In
Home
›
EU
›
151550
›
HORN
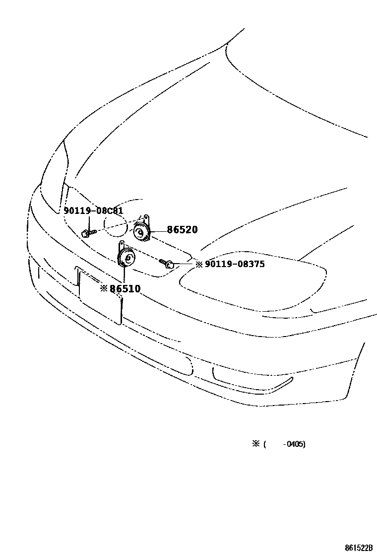
HORN
86510
HORN ASSY, HIGH PITCHED
main
86510-33170
i
ZZE121..JPP..SED..4FC..SOL
200110-200405
sub
86510-33171
86520
HORN ASSY, LOW PITCHED
main
86520-12600
i
ZZE120..JPP..LHD;ZZE121..JPP..LHD..SED;CDE120,ZZE121..JPP..WG
200110-200308
DENSO
sub
86520-47010
main
86520-28180
i
ZZE12#..JPP..SED
200110-200405
MARUKO
main
86520-35160
i
ZZE121..JPP..SED..4FC..SOL
200110-200405
CHINA SPEC,DENSO
sub
86520-35161
main
86520-47010
i
ZZE12#..JPP..SED
200308-200405
DENSO
9011908375
main
90119-08375
9011908C81
main
90119-08C81
4 parts on this diagram · 1 diagram in section
HORN — Toyota Parts Diagram with OEM Numbers & Prices | EPC Data