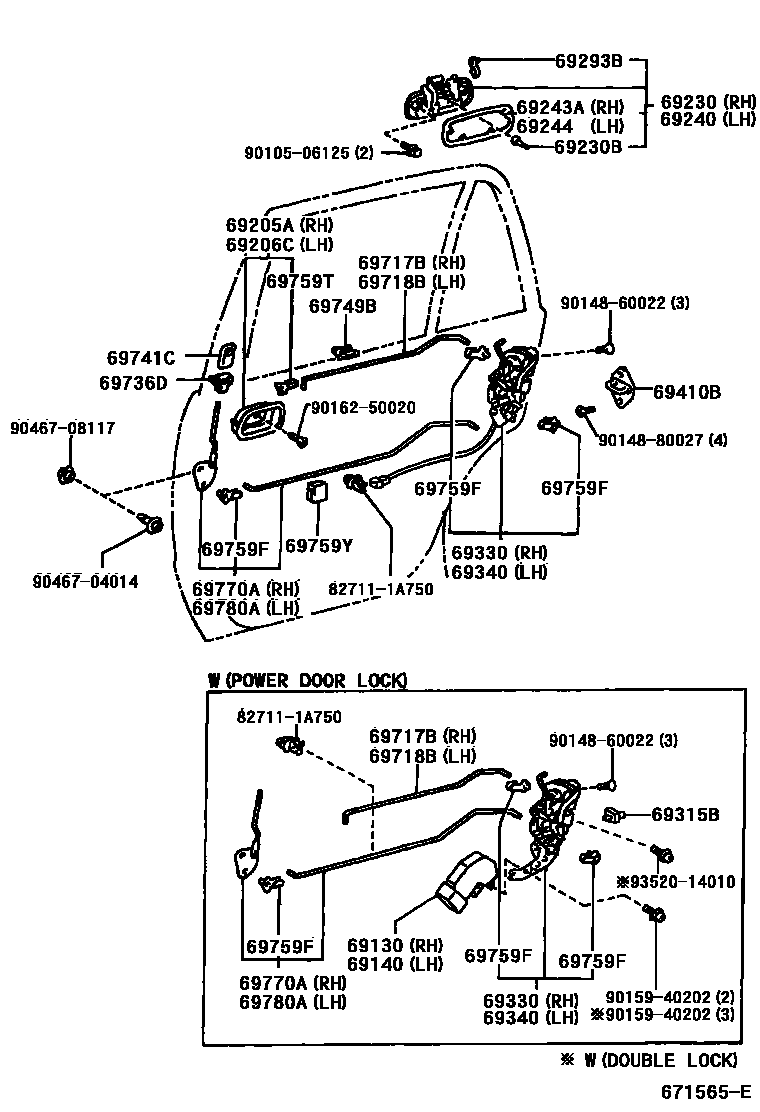
REAR DOOR LOCK & HANDLE

69130ACTUATOR ASSY, REAR DOOR LOCK, RH
W(DOUBLE-LOCK)
69140ACTUATOR ASSY, REAR DOOR LOCK, LH
main69140-12010iAE115..SOL;ZZE112..LHD;ZZE112..RHD..TERRA;CDE110,EE110,WZE110,ZZE111..SOL,TERRA199704-200109
W(DOUBLE-LOCK)
69205AHANDLE SUB-ASSY, REAR DOOR INSIDE, RH
SHADOW GRAY,TRIM16
sub69205-12180
MD.CHARCOAL,TRIM1#
sub69205-12180
MD.CHARCOAL,TRIM11
sub69205-12180
69206CHANDLE SUB-ASSY, REAR DOOR INSIDE, LH
SHADOW GRAY,TRIM16
MD.CHARCOAL,TRIM11
MD.CHARCOAL,TRIM1#
69230HANDLE ASSY, REAR DOOR OUTSIDE, RH
BLACK
SILVER ME,199
sub69230-12230
RED M.M.,3N8
sub69230-12230
GREEN MC.,6R8
sub69230-12230
BLUE M.M.,8L5
sub69230-12230
DK.BLUE,8M4
sub69230-12230
DK.BLUE M.M.,8L3
sub69230-12230
69230BCUSHION(FOR REAR DOOR OUTSIDE HANDLE)
69240HANDLE ASSY, REAR DOOR OUTSIDE, LH
BLACK
SUPER WHITE 2,040
SILVER ME,199
BLACK ME,205
CORAL REEF M.M.,3L6
SUPER RED II,3E5
RED M.M.,3N8
GREEN M.M.,6P5
GREEN MC.,6R8
BLUE M.M.,8L5
DK.BLUE,8M4
DK.BLUE M.M.,8L3
VIOLET M.M.,944
69243APAD, REAR DOOR OUTSIDE HANDLE, RH
69244PAD, REAR DOOR OUTSIDE HANDLE, LH
69293BSNAP, REAR DOOR OUTSIDE HANDLE
RH
LH
69315BRETAINER, REAR DOOR LOCK SOLENOID
main69315-33030iZZE112..LHD;ZZE112..RHD..TERRA;AE115,CDE110,EE110,WZE110,ZZE111..SOL,TERRA199910-200109
69330LOCK ASSY, REAR DOOR, RH
W(POWER DOOR LOCK)
W(DOUBLE-LOCK)
W(POWER DOOR LOCK)
69340LOCK ASSY, REAR DOOR, LH
W(POWER DOOR LOCK)
W(DOUBLE-LOCK)
W(POWER DOOR LOCK)
69410BPLATE ASSY, REAR DOOR LOCK STRIKER
69717BLINK, REAR DOOR LOCK REMOTE CONTROL, RH
69718BLINK, REAR DOOR LOCK REMOTE CONTROL, LH
69736DGUIDE, REAR DOOR LOCKING LINK
69749BCLAMP, REAR DOOR LOCK LINK
69759FSNAP, REAR DOOR LOCK CONTROL LINK
NATURAL
BLUE
YELLOW
BROWN
69759TSNAP, REAR DOOR INSIDE HANDLE
LH
RH
69759YSILENCER, REAR DOOR LOCK LINK
69770ALINK ASSY, REAR DOOR INSIDE LOCKING, RH
W(DOUBLE-LOCK)
69780ALINK ASSY, REAR DOOR INSIDE LOCKING, LH
W(DOUBLE-LOCK)
827111A750WIRE, FUSE TO FUSE(FOR COMBUSTION HEATER)
main82711-1A750
9010506125
main90105-06125
9014860022
main90148-60022
9014880027
main90148-80027
9015940202
main90159-40202
9016250020
main90162-50020
9046704014
main90467-04014
9046708117
main90467-08117
9352014010
main93520-14010
33 parts on this diagram · 1 diagram in section