E
EPC Data

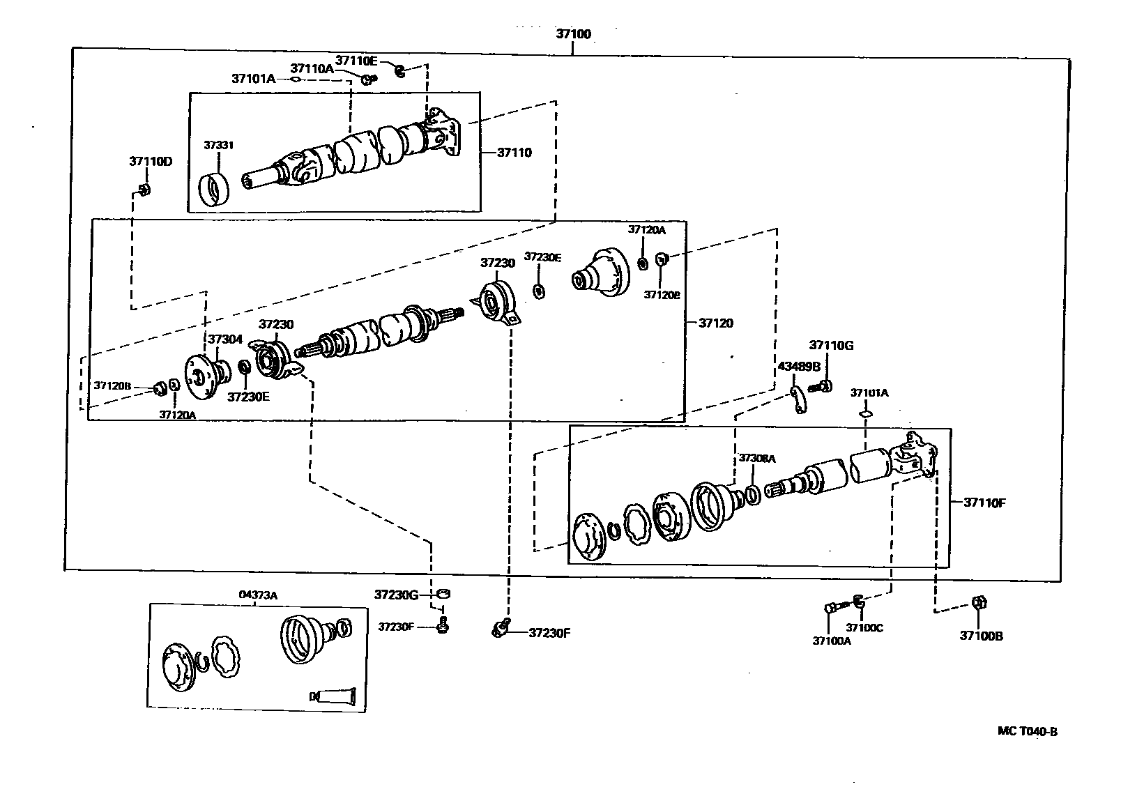
PROPELLER SHAFT & UNIVERSAL JOINT

Parts diagram
04373ABOOT KIT, UNIVERSAL
main04373-12010i199505
37100SHAFT ASSY, PROPELLER W/CENTER BEARING
main37100-12580i199505
37100ABOLT, NO.1 (FOR PROPELLER SHAFT & DIFFERENTIAL SETTING)
main90101-08082i199505
37100BNUT, NO.1 (FOR PROPELLER SHAFT & DIFFERENTIAL SETTING)
main90170-08015i199505
37100CWASHER, NO.1 (FOR PROPELLER SHAFT & DIFFERENTIAL SETTING)
main94512-00800i199505
37101APIECE, BALANCE, NO.1 (FOR PROPELLER SHAFT)
main90937-01132i199505
10G,L=20.7
main90937-01136i199505
20G,L=41.4
main90937-01140i199505
30G,L=62.2
main90937-01147i199505
2G,T=2.0
main90937-01148i199505
4G,T=2.0
main90937-01149i199505
6G,L=12.4
main90937-01150i199505
8G,L=16.6
main90937-01151i199505
12G,L=24.9
main90937-01152i199505
14G,L=29.0
main90937-01153i199505
16G,L=33.2
main90937-01154i199505
18G,L=37.3
main90937-01155i199505
22G,L=45.6
main90937-01156i199505
24G,L=49.7
main90937-01157i199505
26G,L=53.9
main90937-01158i199505
28G,L=58.1
main90937-01311i199505
3G
main90937-01312i199505
5G
main90937-01313i199505
7G,L=14.4
main90937-01314i199505
9G,L=18.5
37110SHAFT ASSY, PROPELLER
main37110-12630i199505
37110ABOLT (FOR PROPELLER SHAFT)
main90105-10085i199505
37110DNUT (FOR PROPELLER SHAFT)
main90179-10059i199505
37110EWASHER (FOR PROPELLER SHAFT)
main90204-10002i199505
37110FSHAFT ASSY, PROPELLER, REAR
main37110-12640i199505
37110GBOLT (FOR REAR PROPELLER SHAFT)
main90110-08016i199505
37120SHAFT ASSY, PROPELLER INTERMEDIATE
main37120-12270i199505
37120AWASHER, PLATE (FOR PROPELLER INTERMEDIATE SHAFT SET)
main90201-18182i199505
OD=33.5,T=4.0
37120BNUT (FOR PROPELLER INTERMEDIATE SHAFT SETTING)
main90179-18009i199505
37230BEARING ASSY, CENTER SUPPORT, NO.1
main37230-12120i199505
FR
main37230-12170i199505
RR
37230EWASHER, NO.1 (FOR CENTER SUPPORT BEARING)
main90201-25005i199505
37230FBOLT, NO.1 (FOR CENTER SUPPORT BEARING)
main90119-10444i199505
37230GWASHER, NO.2 (FOR CENTER SUPPORT BEARING)
main90201-10083i199505
T=6.5
main90201-10084i199505
T=9.0
37304FLANGE SUB-ASSY, UNIVERSAL JOINT
main37304-20010i199505
37308ACLAMP (FOR UNIVERSAL JOINT COVER)
main90949-01431i199505
37331COVER, SLIDING SHAFT DUST
main37331-30010i199505
43489BWASHER, CONSTANT VELOCITY UNIVERSAL JOINT
main43489-20030i199505

23 parts on this diagram · 1 diagram in section

PROPELLER SHAFT & UNIVERSAL JOINT — Toyota Parts Diagram with OEM Numbers & Prices | EPC Data