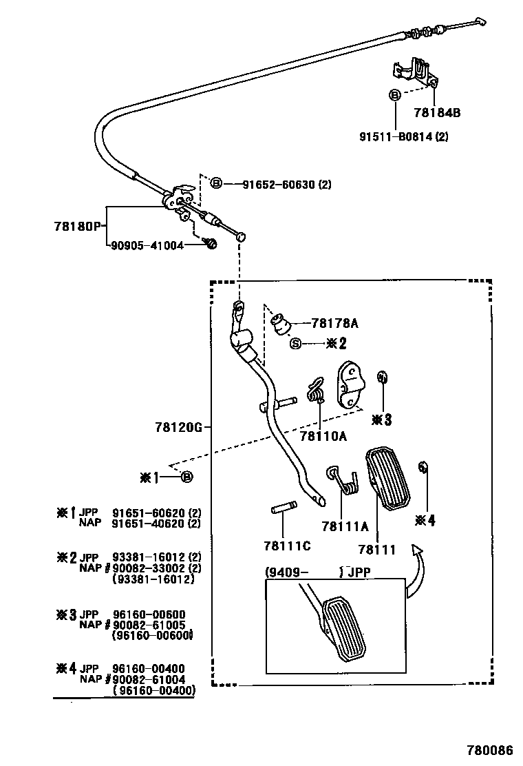
ACCELERATOR LINK

78110ASPRING (FOR ACCELERATOR PEDAL ROD)
78111PEDAL, ACCELERATOR
78111ASPRING (FOR ACCELERATOR PEDAL)
78111CPIN (FOR ACCELERATOR PEDAL)
78178ADAMPER, ACCELRATOR PEDAL ROD DYNAMIC
78180PCABLE ASSY, ACCELERATOR CONTROL
(L)
(J)
9008233002
main90082-33002
9008261004
main90082-61004
9008261005
main90082-61005
9090541004
main90905-41004
91511B0814
main91511-B0814
9165140620
main91651-40620
9165160620
main91651-60620
9165260630
main91652-60630
9338116012
main93381-16012
9616000400
main96160-00400
9616000600
main96160-00600
19 parts on this diagram · 1 diagram in section