E
EPC Data

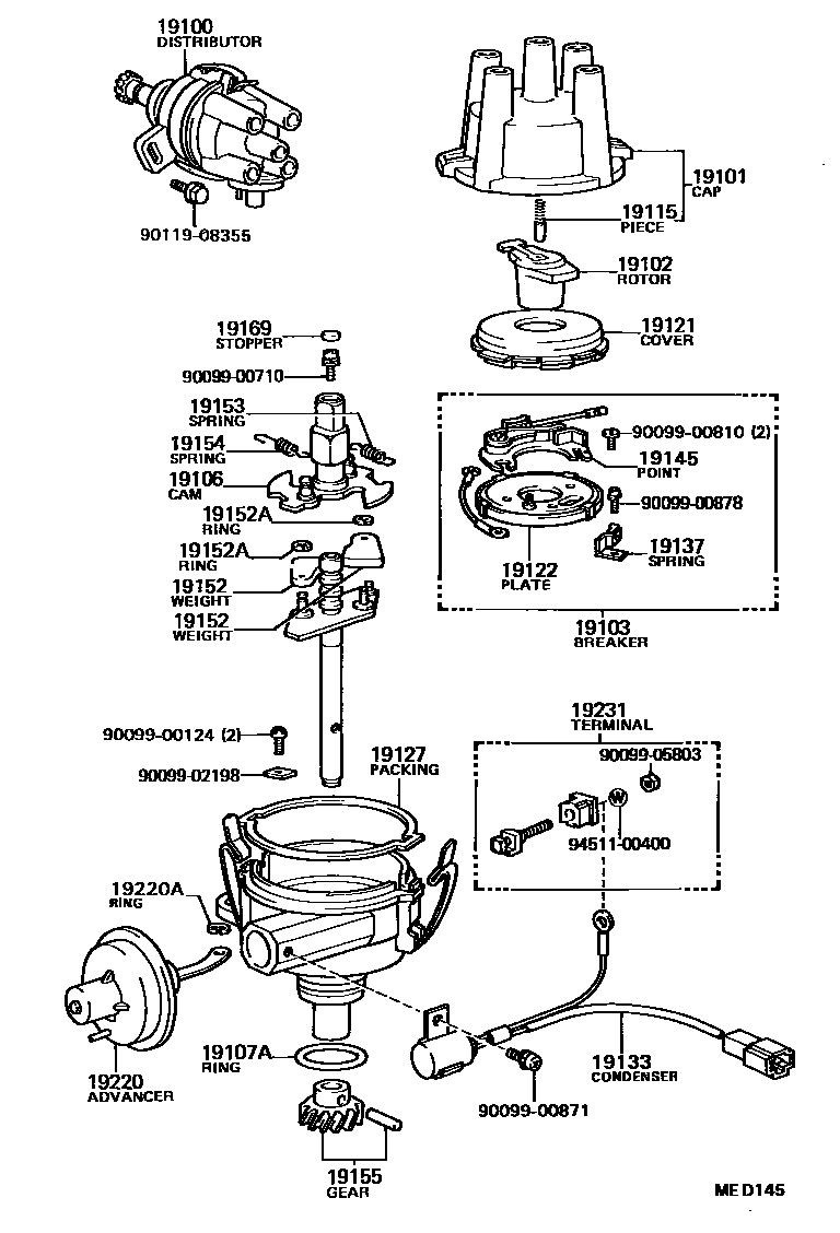
DISTRIBUTOR

Parts diagram
19100DISTRIBUTOR ASSY
main19020-11030i198410-198704
main19020-11050i198505-198608
main19020-11060i198605-198705
main19020-11061i198705-198807
main19020-11130i198605-198608
main19020-11140i198605-198704
FRG SPEC
main19020-11150i198608-198704
main19020-16020i198305-198505
main19020-16030i198305-198505
main19020-16060i198509-198704
NEW ZEALAND SPEC
main19020-16070i198505-198704
main19030-16040i198504-198505
FRG SPEC
main19030-16081i198508-198603
main19030-16082i198603-198704
main19100-11030i198410-198505
main19100-11031i198605-198707
main19100-14050i198401-198505
main19100-14060i198305-198505
main19100-14070i198401-198505
main19100-14100i198401-198505
main19100-16050i198305-198704
main19100-16080i198410-198708
main19100-16090i198410-198704
main19100-16110i198402-198505
SINGAPORE SPEC
main19100-16140i198505-198605
SINGAPORE SPEC
main19100-16190i198708-198807
19101CAP SUB-ASSY, DISTRIBUTOR
main19101-10020i198410-198605
main19101-11010i198605-198807
main19101-15010i198305-198505
main19101-15090i198504-198505
FRG SPEC
main19101-15160i198305-198505
main19101-16080i198410-198708
main19101-16220i198708-198807
19102ROTOR SUB-ASSY, DISTRIBUTOR
main19102-10020i198507-198601
main19102-11030i198505-198507
main19102-11031i198601-198704
NEWZEALAND SPEC
main19102-11050i198507-198601
main19102-16020i198508-198601
main19102-16040i198410-198807
main19102-16060i198601-198704
main19102-26150i198401-198505
main19102-26151i198601-198605
main19102-33012i198505-198605
SINGAPORE SPEC
main19102-35160i198507-198601
main19102-73020i198305-198505
main19102-73021i198601-198704
19103BREAKER SUB-ASSY, DISTRIBUTOR
main19103-10020i198410-198601
main19103-14010i198305-198807
main19103-16140i198505-198605
SINGAPORE SPEC
19106CAM SUB-ASSY, DISTRIBUTOR
main19106-11020i198410-198605
main19106-14030i198505-198605
SINGAPORE SPEC
main19106-14050i198401-198505
main19106-14100i198401-198505
main19106-16110i198402-198605
19107ARING, O, DISTRIBUTOR HOUSING
main96710-04030i198305-198409
main96711-35030i198507-198807
19115PIECE, DISTRIBUTOR CAP, CENTER
main19115-50010i198605-198704
main19115-63010×2i198308-198503
main19115-71010×2i198511-198704
19121COVER, DUST PROOF
main19121-11010i198505-198603
main19121-11080i198605-198807
main19121-15090i198508-198704
NO.2
main19121-16040i198410-198807
NO.2
main19121-16080i198410-198807
NO.1
main19121-38030i198305-198505
main19121-63040i198508-198704
NO.1
19122PLATE, STATIONARY, DISTRIBUTOR
main19122-10020i198605-198707
main19122-14010i198305-198505
19127PACKING, DUST PROOF
main19127-11010i198410-198605
main19127-15010i198605-198704
main19127-15021i198410-198807
main19127-15090i198305-198505
NO.2
main19127-15120i198708-198807
main19127-63020i198305-198505
NO.1
19133CONDENSER, DISTRIBUTOR
main90099-52059i198605-198707
main90099-52076i198605-198704
19137SPRING SUB-ASSY, DAMPER
main19137-14010i198305-198505
19145POINT, DISTRIBUTOR
main19145-10020i198410-198605
main19145-14010i198305-198605
19152WEIGHT, GOVERNOR
main19152-15160×2i198605-198807
main19152-44170×2i198305-198605
19152ARING, SNAP(FOR GOVERNOR WEIGHT)
main90099-07109×2i198605-198704
main90099-07122×2i198305-198704
19153SPRING, GOVERNOR, A
main19153-11021i198410-198605
main19153-11030i198410-198704
main19153-14050i198512-198704
VENEZUELA SPEC
main19153-14060i198305-198401
main19153-16050i198305-198704
main19153-16060i198305-198505
main19153-16070i198305-198505
main19153-16080i198504-198505
FRG SPEC
main19153-16130i198402-198605
main19153-16160i198509-198704
NEW ZEALAND SPEC
main19153-16170i198505-198704
main19153-16180i198505-198605
SINGAPORE SPEC
main19153-16189i198603-198704
main19153-16190i198508-198603
19154SPRING, GOVERNOR, B
main19153-14060i198305-198401
main19153-16050i198305-198704
main19154-11021i198605-198707
main19154-11030i198410-198704
main19154-14050i198401-198505
main19154-16060i198305-198505
main19154-16070i198305-198505
main19154-16080i198504-198505
FRG SPEC
main19154-16130i198402-198605
main19154-16160i198605-198704
SINGAPORE SPEC
main19154-16170i198505-198704
main19154-16180i198505-198605
SINGAPORE SPEC
main19154-16189i198603-198704
main19154-16190i198508-198603
19155GEAR, SPIRAL, DISTRIBUTOR
main19195-15021i198305-198505
main19195-16040i198410-198807
19169STOPPER, CAM GREASE
main19169-32010i198605-198704
main19169-63011i198410-198704
19220ADVANCER ASSY, VACUUM, DISTRIBUTOR
main19220-10030i198410-198605
main19220-11030i198410-198704
main19220-11050i198505-198608
main19220-11060i198605-198807
main19220-11130i198605-198704
main19220-11140i198605-198704
FRG SPEC
main19220-14050i198401-198505
main19220-14070i198305-198401
main19220-14100i198401-198505
main19220-16040i198305-198704
main19220-16060i198305-198505
main19220-16070i198305-198505
main19220-16080i198504-198505
FRG SPEC
main19220-16110i198402-198505
SINGAPORE SPEC
main19220-16160i198509-198704
NEW ZEALAND SPEC
main19220-16170i198505-198704
main19220-16180i198505-198605
SINGAPORE SPEC
main19220-16189i198603-198704
main19220-16190i198508-198603
19220ARING, SNAP(FOR DISTRIBUTOR VACUUM ADVANCER)
main90099-07109i198305-198505
19231TERMINAL, DISTRIBUTOR
main19231-24140i198305-198505
9009900124
9009900710
9009900810
9009900871
9009900878
9009902198
9009905803
9011908355
9451100400

31 parts on this diagram · 8 diagrams in section

DISTRIBUTOR — Toyota Parts Diagram with OEM Numbers & Prices | EPC Data