E
EPC Data

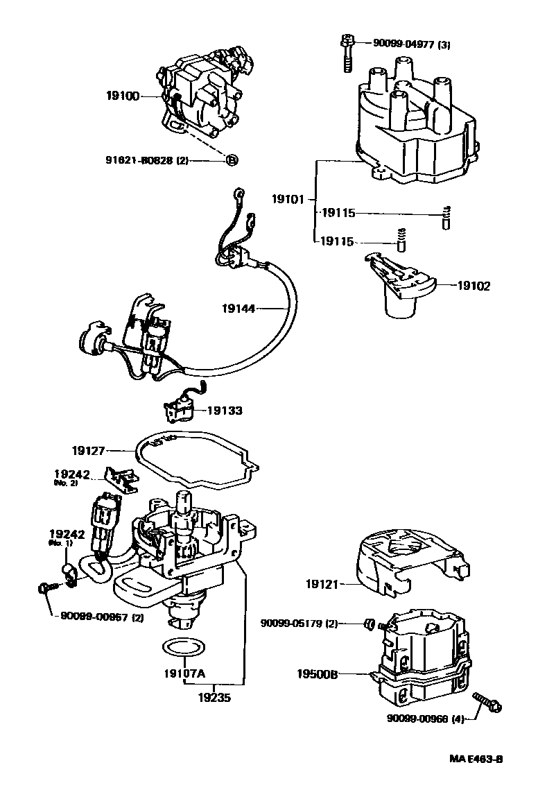
DISTRIBUTOR

Parts diagram
19100DISTRIBUTOR ASSY
main19050-11010i199104-199508
19101CAP SUB-ASSY, DISTRIBUTOR
main19101-11060i199104-199508
19102ROTOR SUB-ASSY, DISTRIBUTOR
main19102-11031i199104-199508
19107ARING, O, DISTRIBUTOR HOUSING
main90099-14088i199104-199508
19115PIECE, DISTRIBUTOR CAP, CENTER
main19115-63010×2i199104-199508
19121COVER, DUST PROOF
main19121-11080i199104-199508
19127PACKING, DUST PROOF
main19127-15120i199104-199508
19133CONDENSER, DISTRIBUTOR
main19133-16240i199104-199508
19144LEAD, DISTRIBUTOR BREAKER
main19144-11090i199104-199508
19235HOUSING, DISTRIBUTOR
main19235-11200i199104-199508
19242CLAMP, CORD
main19242-11010i199104-199508
NO.2
main19242-11190i199104-199508
NO.1
19500BCOIL ASSY, IGNITION
main90919-02163i199104-199508
9009900957
9009900966
9009904977
9009905179
91621B0828

17 parts on this diagram · 1 diagram in section

DISTRIBUTOR — Toyota Parts Diagram with OEM Numbers & Prices | EPC Data