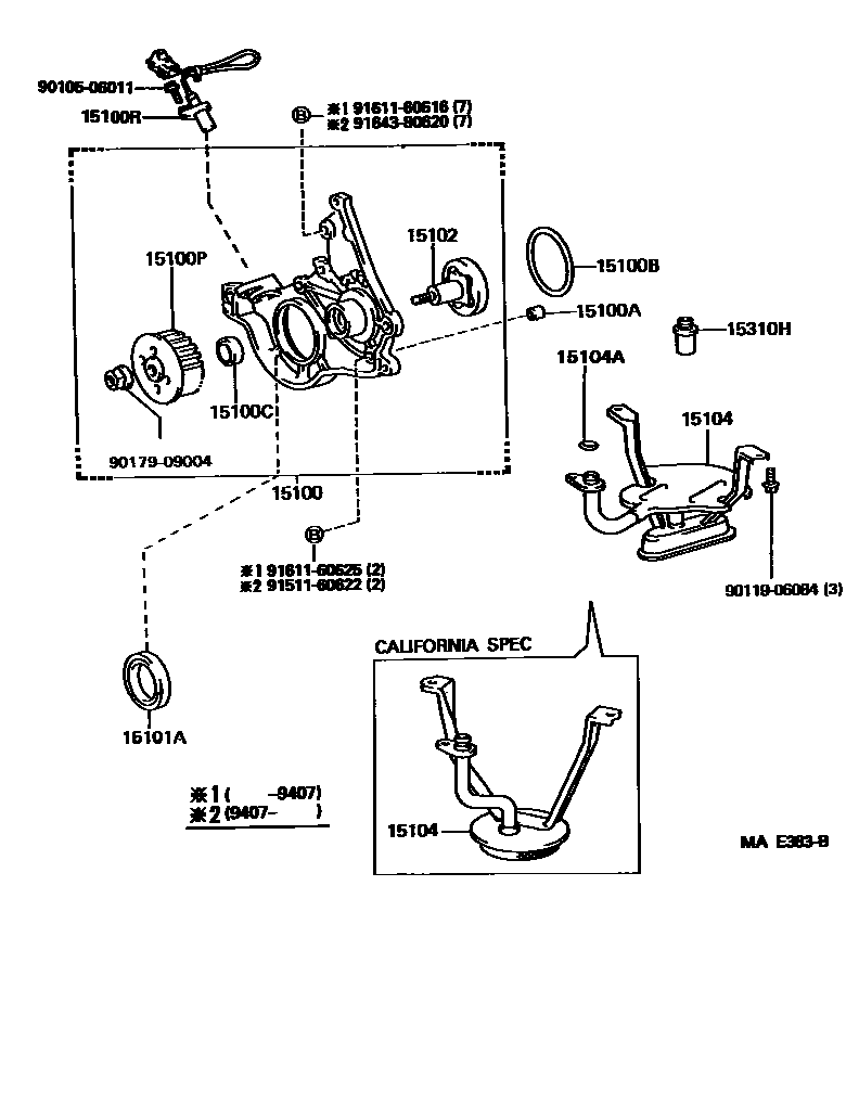
ENGINE OIL PUMP

15100PUMP ASSY, OIL
CALIFORNIA SPEC
15100APIN, RING(FOR OIL PUMP SET)
15100BRING, O(FOR OIL PUMP)
15100PPULLEY, OIL PUMP DRIVE SHAFT
15100RSENSOR, CRANK POSITION
CALIFORNIA SPEC,OIL PUMP
15102ROTOR SET, OIL PUMP
15104STRAINER SUB-ASSY, OIL
CALIFORNIA SPEC
15104ARING, O(FOR OIL STRAINER)
15310HREGULATOR ASSY, OIL
9010506011
main90105-06011
9011906084
main90119-06084
9017909004
main90179-09004
9151160622
main91511-60622
9161160616
main91611-60616
9161160625
main91611-60625
9164380620
main91643-80620
18 parts on this diagram · 1 diagram in section