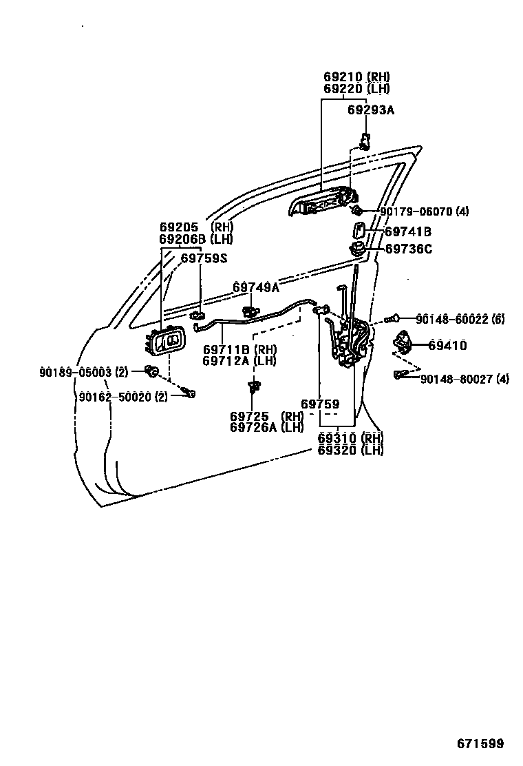
FRONT DOOR LOCK & HANDLE

69205HANDLE SUB-ASSY, FRONT DOOR INSIDE, RH
69206BHANDLE SUB-ASSY, FRONT DOOR INSIDE, LH
69210HANDLE ASSY, FRONT DOOR, OUTSIDE RH
sub69210-16120
BLACK ME,205
SUPER RED II,3E5
TURQUOISE M.M.,756
PURPLISH BLUE M.M.,8K9
BLUE M.M.,8L5
69220HANDLE ASSY, FRONT DOOR OUTSIDE, LH
sub69220-16120
BLACK ME,205
SUPER RED II,3E5
TURQUOISE M.M.,756
PURPLISH BLUE M.M.,8K9
BLUE M.M.,8L5
69293ASNAP, FRONT DOOR OUTSIDE HANDLE
BROWN
PINK
69310LOCK ASSY, FRONT DOOR, RH
W(POWER WINDOW)
W(POWER WINDOW)
W(POWER WINDOW)
69320LOCK ASSY, FRONT DOOR, LH
W(POWER WINDOW)
W(POWER WINDOW)
W(POWER WINDOW)
69410PLATE ASSY, FRONT DOOR LOCK STRIKER
69711BLINK, FRONT DOOR LOCK REMOTE CONTROL, RH
69712ALINK, FRONT DOOR LOCK REMOTE CONTROL, LH
69725PROTECTOR, FRONT DOOR INSIDE LOCKING LINK, RH
69726APROTECTER, FRONT DOOR INSIDE LOCKING LINK, LH
69736CGUIDE, FRONT DOOR LOCKING LINK
69741BKNOB, FRONT DOOR LOCK CONTROL
69749ACLAMP, FRONT DOOR LOCK LINK, NO.1
69759SNAP, DOOR LOCK CONTROL LINK, NO.1
ORANGE
PINK
9014860022
main90148-60022
9014880027
main90148-80027
9016250020
main90162-50020
9017906070
main90179-06070
9018905003
main90189-05003
22 parts on this diagram · 1 diagram in section