E
EPC Data

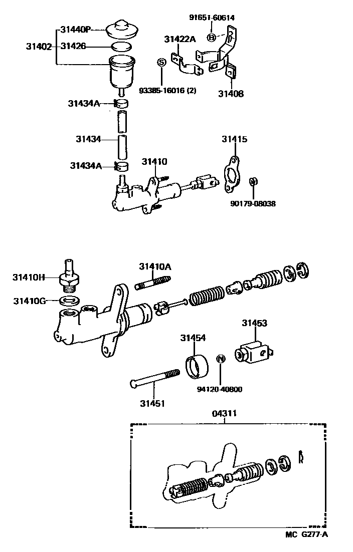
CLUTCH MASTER CYLINDER

Parts diagram
04311CYLINDER KIT, CLUTCH MASTER
main04311-12060i198905-199009
main04311-28010i198808-198905
31402RESERVOIR SUB-ASSY, CLUTCH MASTER CYLINDER
main31402-10010i198808-198902
main31402-10011i198902-199009
31408HOLDER SUB-ASSY, CLUTCH RESERVOIR
main31408-10010i198808-198902
main31408-10011i198902-199009
31410CYLINDER ASSY, CLUTCH MASTER
main31420-10013i198808-198905
main31420-16010i198905-198908
main31420-16011i198908-199009
31410ABOLT(FOR CLUTCH MASTER CYLINDER SETTING)
main90116-08146×2i198808-199009
31410GGASKET(FOR CLUTCH MASTER CYLINDER UNION)
main90430-16242i198808-198905
31410HUNION(FOR CLUTCH MASTER CYLINDER)
main90404-16307i198808-198905
31415GASKET, CLUTCH MASTER CYLINDER
main31415-10010i198808-199009
31422ABRACKET, CLUTCH RESERVOIR
main31422-10010i198808-198902
31426FLOAT, CLUTCH MASTER CYLINDER RESERVOIR
main31426-30011i198808-199009
31434TUBE, CLUTCH RESERVOIR
main31434-16010i198808-198905
main31434-16011i198905-199009
31434ACLIP(FOR CLUTCH RESERVOIR TUBE)
main96132-30800×2i198808-199009
31440PCAP ASSY, CLUTCH MASTER CYLINDER RESERVOIR FILLER
main47230-20040i198808-199009
31451ROD, CLUTCH MASTER CYLINDER PUSH
main31451-20090i198908-199009
main31451-22060i198808-198905
main31451-27010i198905-198908
31453CLEVIS, CLUTCH MASTER CYLINDER PUSH ROD
main31453-10020i198905-199009
main31453-35010i198808-198905
31454BOOT, CLUTCH MASTER CYLINDER
main31454-14010i198808-199009
9017908038
9165160614
9338516016
9412040800

20 parts on this diagram · 2 diagrams in section

CLUTCH MASTER CYLINDER — Toyota Parts Diagram with OEM Numbers & Prices | EPC Data