E
EPC Data

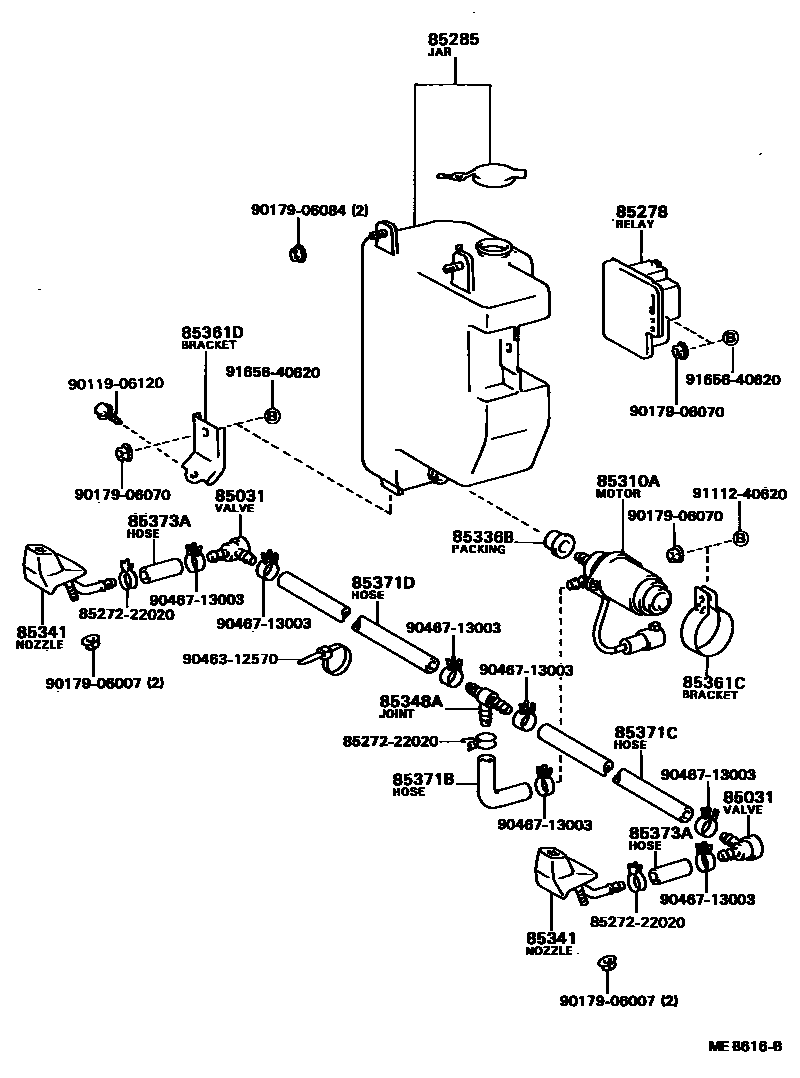
HEADLAMP CLEANER

Parts diagram
85031VALVE, HEADLAMP CLEANER WASHER HOSE
main85031-30020×2i198208-198308
85278RELAY ASSY, HEADLAMP CLEANER CONTROL
main85276-14040i198408-198801
main85276-20020i198308-198408
85285JAR, HEADLAMP CLEANER WASHER
main85330-16180i198208-198308
85310AMOTOR AND PUMP ASSY, HEADLAMP CLEANER WASHER
main85310-22070i198208-198308
85336BPACKING, HEADLAMP CLEANER WASHER
main85336-10010i198208-198308
85341NOZZLE, HEADLAMP CLEANER WASHER
main85035-16030×2i198208-198308
main85035-16031×2i198408-198801
85348AJOINT, HEADLAMP CLEANER HOSE, NO.1
main85352-12010i198308-198408
85361CBRACKET, WASHER
main85361-16050i198208-198308
85361DBRACKET, HEADLAMP CLEANER, NO.2
main85361-16060i198208-198308
85371BHOSE, HEADLAMP CLEANER (FROM MOTOR TO JOINT)
main85375-16120i198208-198308
85371CHOSE, HEADLAMP CLEANER, NO.1
main85376-16020i198208-198308
L=260
85371DHOSE, HEADLAMP CLEANER, NO.2
main85377-16020i198208-198308
L=850
85373AHOSE, HEADLAMP CLEANER WASHER (FROM JOINT TO NOZZLE)
main85375-16020×2i198208-198308
L=40
8527222020CABLE SUB-ASSY, HEADLAMP CLEANER, RH
9011906120
9017906007
9017906070
9017906084
9046312570
9046713003
9111240620
9165640620

22 parts on this diagram · 1 diagram in section

HEADLAMP CLEANER — Toyota Parts Diagram with OEM Numbers & Prices | EPC Data