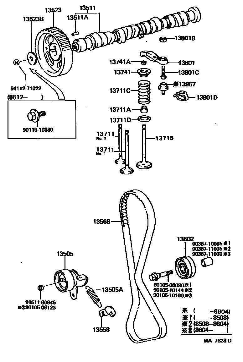
CAMSHAFT & VALVE

13502IDLER SUB-ASSY, TIMING BELT, NO.2
13505IDLER SUB-ASSY, TIMING BELT, NO.1
13505ASPRING, TENSION(FOR IDLER)
main90506-18059i1EL..EP70..5D..5F;1EL..EP70..RHD..3D;1EL..EP70..4F..XL..FRG;2EL#..EP71..GL,S,STD,XL;1EL,2EL..EP7#..4F..(DX,STD);1EL..EP70..LHD..3D..XL..EUG198704-198809
13511CAMSHAFT
13511APIN, STRAIGHT(FOR CAMSHAFT KNOCK)
L=15,OD=5
13523GEAR OR SPROCKET, CAMSHAFT TIMING
13523BWASHER, PLATE(FOR TIMING GEAR)
13558BRACKET, SPRING(FOR IDLER)
13568BELT, TIMING
main13568-10022i1EL..EP70..STD;1EL..EP70..5D..5F;1EL..EP70..RHD..3D;1EL..EP70..4F..XL..FRG;1EL..EP70..LHD..3D..XL..EUG198705-198805
13711VALVE, INTAKE
NO.1
NO.2
13711ASEAL OR RING, O(FOR VALVE STEM OIL)
13711CSPRING, COMPRESSION(FOR OUTER)
13711DWASHER, PLATE(FOR VALVE SPRING SEAT)
13715VALVE, EXHAUST
13741RETAINER, VALVE SPRING
13741ALOCK, VALVE SPRING RETAINER
13801ARM SUB-ASSY, VALVE ROCKER, NO.1
13801BNUT, HEXAGON(FOR VALVE ADJUSTING)
13801CSCREW, VALVE ADJUSTING
13801DSPRING, COMPRESSION(FOR ROCKER ARM)
13957PIVOT, VALVE ROCKER ARM
9010508090
main90105-08090
9010508123
main90105-08123
9010510144
main90105-10144
9010510160
main90105-10160
9011910380
main90119-10380
9038710065
main90387-10065
9038711035
main90387-11035
9038711039
main90387-11039
9111271022
main91112-71022
9151160845
main91511-60845
31 parts on this diagram · 2 diagrams in section