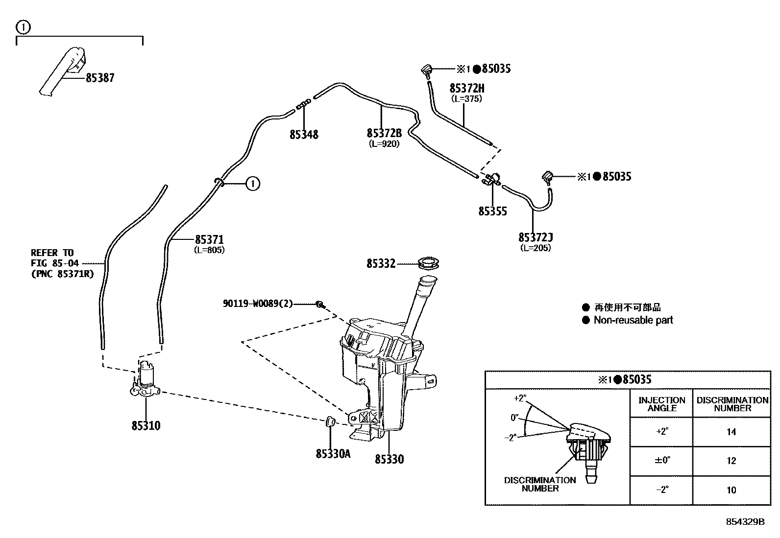
WINDSHIELD WASHER

85035NOZZLE SUB-ASSY, WASHER
ANGLE 0
ANGLE -2
ANGLE +2
8504REAR WASHER
85310MOTOR AND PUMP ASSY, WINDSHIELD WASHER
85330JAR ASSY, WINDSHIELD WASHER
85330ABUSH, WINDSHIELD WASHER JAR
85332CAP, WINDSHIELD WASHER JAR
85348JOINT, WINDSHIELD WASHER HOSE, NO.1
85355VALVE, WINDSHIELD WASHER HOSE
85371HOSE, WINDSHIELD WASHER (FROM MOTOR TO JOINT)
85372BHOSE, WINDSHIELD WASHER (FROM JOINT TO JOINT), NO.2
85372HHOSE, WINDSHIELD WASHER (FROM JOINT TO JOINT), NO.3
85372JHOSE, WINDSHIELD WASHER (FROM JOINT TO JOINT), NO.4
85387CLAMP NO.1 (FOR WINDSEIELD WASHER)
90119W0089
main90119-W0089
14 parts on this diagram · 2 diagrams in section