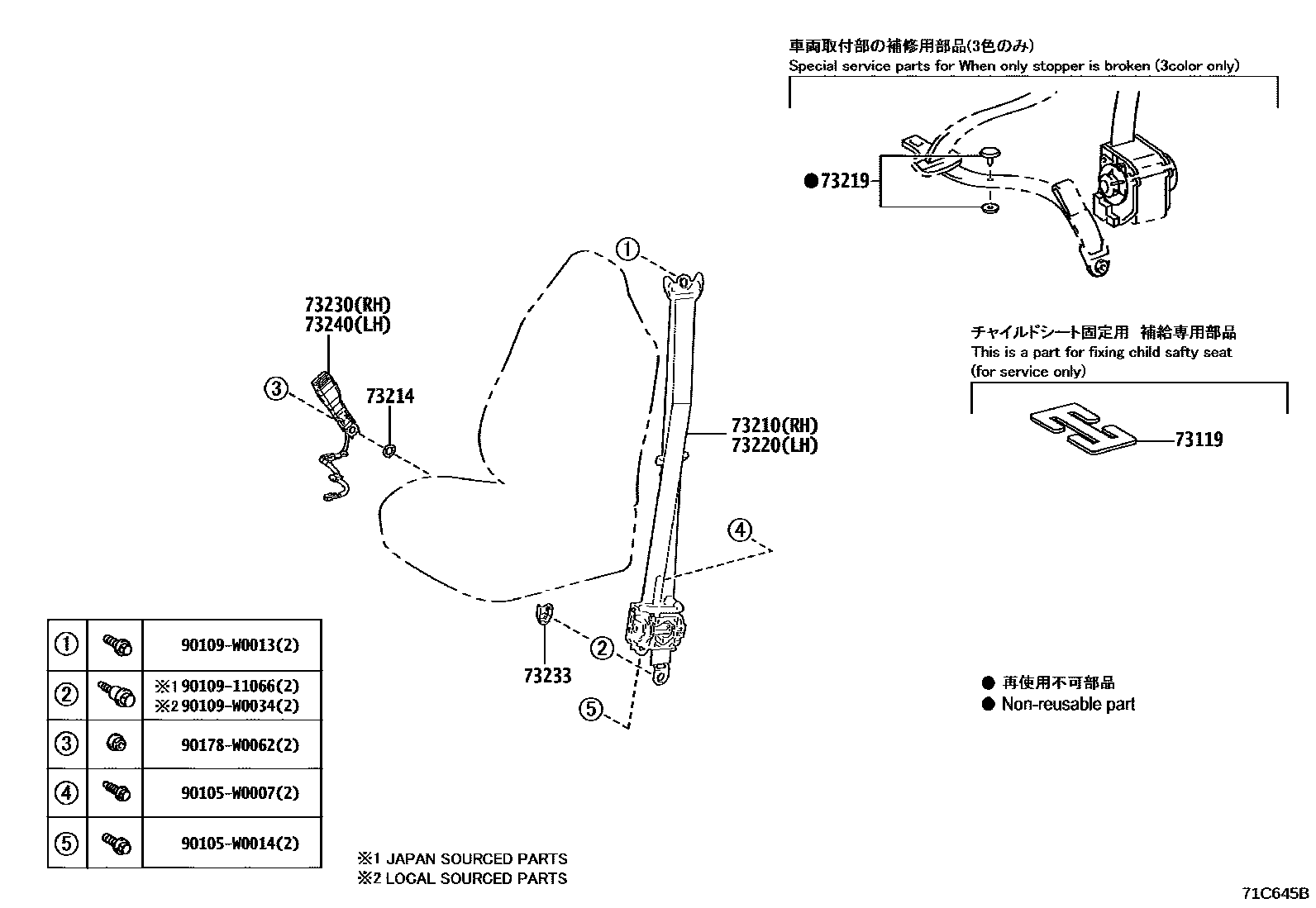
SEAT BELT & CHILD RESTRAINT SEAT

73119PLATE, SEAT BELT WEBBING CLIP
main73119-22010iMXPH11..G;KSP211..RHD..N;MXPH11..R..CZEP;KSP211..LHD..(N,R);MXPA11..LHD..(G,S,V);MXPA11..RHD..6F..(S,V);MXPA11..RHD..CVT..(N,S)202007
73210BELT ASSY, FRONT SEAT OUTER, RH
main73210-K0010-C0iMXPA11..(S,V)..FRP;MXPH11..RHD..(S,V);MXPA11..(N,S)..CZEP;KSP211,MXPH11..LHD..(R,S,V); MXPA11..N..FRP;KSP211,MXPH11..N; MXPH11..G;MXPA11..LHD..G..FRP202007-202208
BLACK,TRIM1#,2#; BLACK,TRIM1#,2#,4#; BLACK,TRIM2#
main73210-K0011-C0iKSP211..N..FRP;MXPA11..RHD..CVT..N; MXPA11..G; MXPA11..S,V;KSP211..CZEP;KSP211..R..FRP;MXPH11..R..CZEP; MXPH11..G202209
BLACK,TRIM1#; BLACK,TRIM1#,2#; BLACK,TRIM1#,2#,4#; BLACK,TRIM2#
73214PLATE, FRONT SEAT BELT ANCHOR
73219STOPPER, TONGUE PLATE
BLACK
GRAY
BEIGE
73220BELT ASSY, FRONT SEAT OUTER, LH
BLACK,TRIM1#,2#
main73220-K0011-C0iMXPH11..N..FRP;MXPA11..6F..N..FRP;MXPA11..LHD..CVT..N..FRP; MXPH11..S,V;MXPH11..R..FRP;MXPA11,MXPH11..N..CZEP202209-202401
BLACK,TRIM1#,2#,4#; BLACK,TRIM2#
73230BELT ASSY, FRONT SEAT INNER, RH
BLACK,TRIM1#; BLACK,TRIM1#,2#,4#; BLACK,TRIM2#
main73230-K0040-C0iMXPA11..N..CZEP;MXPH11..LHD..R..FRP; MXPH11..LHD..N;MXPA11..LHD..N..FRP; MXPH11..LHD..S202007-202401
BLACK,TRIM1#,2#,4#; BLACK,TRIM2#; LW PACKAGE,BLACK,TRIM2#
BLACK,TRIM1#
73233COVER, LAP BELT OUTER ANCHOR
main73233-60020-C1×2iKSP211..N;MXPA11..RHD..CVT..N; MXPA11..S,V;KSP211..LHD..R;MXPH11..R..CZEP; MXPH11..G;MXPA11..LHD..G..FRP202007
BLACK,TRIM1#,2#; BLACK,TRIM1#,2#,4#; BLACK,TRIM2#
73240BELT ASSY, FRONT SEAT INNER, LH
main73230-K0010-C0iKSP211..LHD..N; MXPA11,MXPH11..LHD..G; MXPH11..R..CZEP;KSP211,MXPA11..LHD..(R,S,V)202007
BLACK,TRIM1#; BLACK,TRIM1#,2#,4#; BLACK,TRIM2#
BLACK,TRIM2#; LW PACKAGE,BLACK,TRIM2#
BLACK,TRIM1#
90105W0007
main90105-W0007
90105W0014
main90105-W0014
9010911066
main90109-11066
90109W0013
main90109-W0013
90109W0034
main90109-W0034
90178W0062
main90178-W0062
14 parts on this diagram · 2 diagrams in section