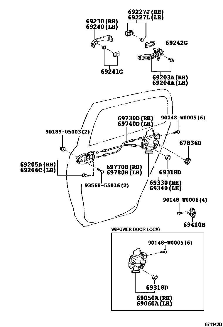
REAR DOOR LOCK & HANDLE

67836DCOVER, REAR DOOR LOCK CHILD PROTECTION
69050ALOCK ASSY, REAR DOOR W/MOTOR, RH
69060ALOCK ASSY, REAR DOOR W/MOTOR, LH
69203AFRAME SUB-ASSY, REAR DOOR OUTSIDE HANDLE, RH
69204AFRAME SUB-ASSY, REAR DOOR OUTSIDE HANDLE, LH
69205AHANDLE SUB-ASSY, REAR DOOR INSIDE, RH
DK.GRAY,TRIM1#
DOOR INSIDE HANDLE=W/O PAINTED,DK.GRAY,TRIM18
DK.GRAY & SILVER,TRIM18
GRAY & SILVER,TRIM19
DK.GRAY,TRIM1#
GREGE,TRIM4#
69206CHANDLE SUB-ASSY, REAR DOOR INSIDE, LH
DOOR INSIDE HANDLE=W/O PAINTED,DK.GRAY,TRIM18
DK.GRAY,TRIM1#
DK.GRAY & SILVER,TRIM18
GRAY,TRIM19
DK.GRAY,TRIM1#
GREGE,TRIM4#
69227JCOVER, REAR DOOR OUTSIDE HANDLE, RH
BLACK
LESS COLOR
LESS COLOR,OUTSIDE REAR VIEW MIRROR-ELECTRIC REMOTE CONTROL(COLORED)
LESS COLOR,OUTSIDE REAR VIEW MIRROR-ELECTRIC REMOTE CONTROLTR(COLORED)W/HTR
69227LCOVER, REAR DOOR OUTSIDE HANDLE, LH
BLACK
LESS COLOR,OUTSIDE REAR VIEW MIRROR-ELECTRIC REMOTE CONTROLTR(COLORED)W/HTR
LESS COLOR
LESS COLOR,OUTSIDE REAR VIEW MIRROR-ELECTRIC REMOTE CONTROL(COLORED)
69230HANDLE ASSY, REAR DOOR OUTSIDE, RH
NO PAINT REQ.
PAINT REQ.
PAINT REQ.,OUTSIDE REAR VIEW MIRROR-ELECTRIC REMOTE CONTROL(COLORED)
PAINT REQ.,OUTSIDE REAR VIEW MIRROR-ELECTRIC REMOTE CONTROLTR(COLORED)W/HTR
69240HANDLE ASSY, REAR DOOR OUTSIDE, LH
NO PAINT REQ.
PAINT REQ.
PAINT REQ.,OUTSIDE REAR VIEW MIRROR-ELECTRIC REMOTE CONTROL(COLORED)
PAINT REQ.,OUTSIDE REAR VIEW MIRROR-ELECTRIC REMOTE CONTROLTR(COLORED)W/HTR
69241GPAD, REAR DOOR OUTSIDE HANDLE, FRONT
sub69241-48020
69242GPAD, REAR DOOR OUTSIDE HANDLE, REAR
69318DSEAL, DOOR LOCK WIRING HARNESS
69330LOCK ASSY, REAR DOOR, RH
main69330-0D060
69340LOCK ASSY, REAR DOOR, LH
main69340-0D060
69410BPLATE ASSY, REAR DOOR LOCK STRIKER
69730DCABLE ASSY, REAR DOOR LOCK REMOTE CONTROL, RH
69740DCABLE ASSY, REAR DOOR LOCK REMOTE CONTROL LH
69770BCABLE ASSY, REAR DOOR INSIDE LOCKING, RH
69780BCABLE ASSY, REAR DOOR INSIDE LOCKING, LH
90148W0005
main90148-W0005
90148W0006
main90148-W0006
9018905003
main90189-05003
9356855016
main93568-55016
25 parts on this diagram · 1 diagram in section