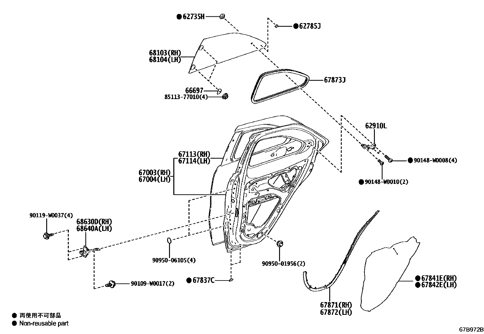
REAR DOOR PANEL & GLASS

62735HRETAINER, QUARTER WINDOW HINGE
62785JSPACER, QUARTER WINDOW GLASS
62910LLOCK ASSY, SIDE WINDOW
66697PLATE, DOOR GUARD WINDOW CUSHION
67003PANEL SUB-ASSY, REAR DOOR, RH
67004PANEL SUB-ASSY, REAR DOOR, LH
67113PANEL, REAR DOOR, OUTER RH
67114PANEL, REAR DOOR, OUTER LH
67837CSEAL, REAR DOOR DUST PROOF
67841ECOVER, REAR DOOR SERVICE HOLE, RH
67842ECOVER, REAR DOOR SERVICE HOLE, LH
67871WEATHERSTRIP, REAR DOOR, RH
main67875-0H010
67872WEATHERSTRIP, REAR DOOR, LH
main67876-0H010
67873JWEATHERSTRIP, REAR DOOR GLASS, FRONT
68103GLASS SUB-ASSY, REAR DOOR, RH
BACK GLASS-PRIVACY
68104GLASS SUB-ASSY, REAR DOOR, LH
BACK GLASS-PRIVACY
68630DCHECK ASSY, REAR DOOR, RH
68640ACHECK ASSY, REAR DOOR, LH
8511377010FRAME, WINDSHIELD WIPER MOTOR END
main85113-77010
90109W0017
main90109-W0017
90119W0037
main90119-W0037
90148W0008
main90148-W0008
90148W0010
main90148-W0010
9095001956
main90950-01956
9095006105
main90950-06105
25 parts on this diagram · 2 diagrams in section